专利数据库
统计分析
产业报告
专利数据监控
产业人才
行业动态
产业政策法规
维权援助
个人中心
详情
文本
图像
标题
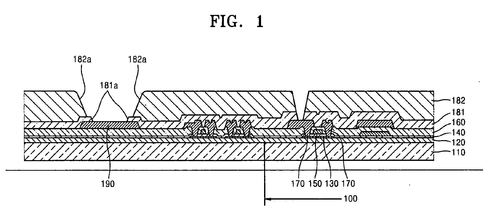
Organic light emitting display apparatus
授权日
1900-01-01
公开(公告)号
EP2031658A3
申请日
2008-09-01
公开(公告)日
2009-06-24
当前申请(专利权)人
SAMSUNG DISPLAY CO., LTD.
发明人
JO, GYOO-CHUL 3TH FLOOR, KORYO BUILDING | KIM, KWANG-NAM
简单同族
CN101383374A | CN101383374B | CN105679797A | CN105679797B | EP2031658A2 | EP2031658A3 | EP2031658B1 | JP2009059701A | JP4772840B2 | KR100875102B1 | US20090058280A1 | US8022618
简单同族成员数量
12
简单同族被引用专利总数
47
诉讼案件数
0
法律状态/事件
授权 | 权利转移
抱歉,您的浏览器不支持PDF预览,请点击链接下载PDF文件