专利数据库
统计分析
产业报告
专利数据监控
产业人才
行业动态
产业政策法规
维权援助
个人中心
详情
文本
图像
标题
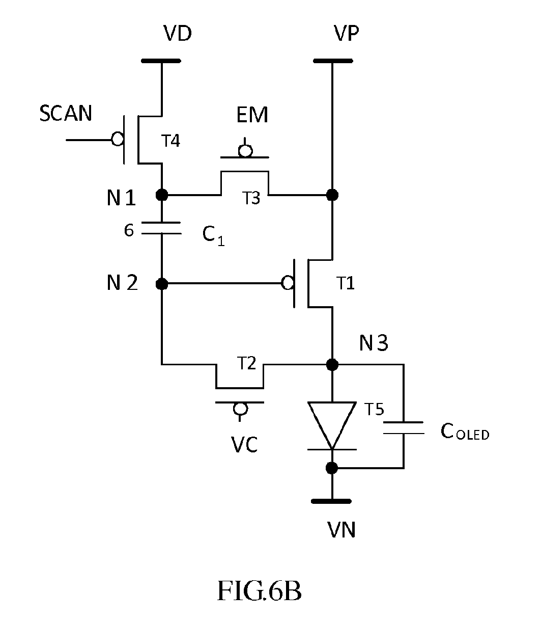
Pixel unit circuit, pixel array, display panel and display panel driving method
授权日
1900-01-01
公开(公告)号
EP2523182A1
申请日
2012-05-11
公开(公告)日
2012-11-14
当前申请(专利权)人
BOE TECHNOLOGY GROUP CO., LTD.
发明人
WU, ZHONGYUAN | DUAN, LIYE | YUAN, GUANGCAI
简单同族
CN102646386A | CN102646386B | EP2523182A1 | EP2523182B1 | JP2012242830A | JP6158477B2 | KR101401606B1 | KR1020120127315A | US20120287103A1 | US9218766
简单同族成员数量
10
简单同族被引用专利总数
56
诉讼案件数
0
法律状态/事件
授权
抱歉,您的浏览器不支持PDF预览,请点击链接下载PDF文件