专利数据库
统计分析
产业报告
专利数据监控
产业人才
行业动态
产业政策法规
维权援助
个人中心
详情
文本
图像
标题
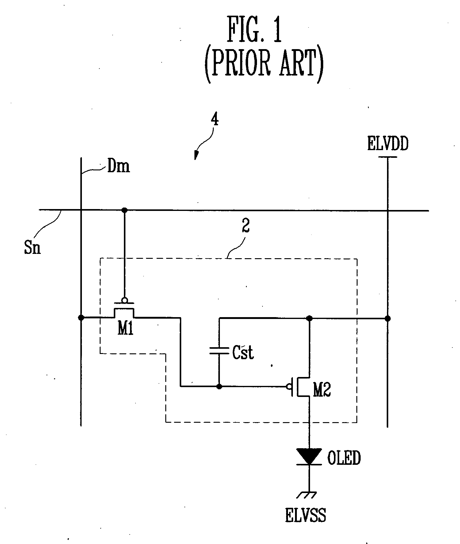
Organic light emitting display
授权日
2010-10-20
公开(公告)号
EP1887552B1
申请日
2007-08-08
公开(公告)日
2010-10-20
当前申请(专利权)人
SAMSUNG MOBILE DISPLAY CO., LTD.
发明人
KIM, YANG-WAN
简单同族
CN101123070A | CN101123070B | DE602007009904D1 | EP1887552A1 | EP1887552B1 | JP2008040444A | JP4795184B2 | KR100739334B1 | US20080036710A1 | US8054250
简单同族成员数量
10
简单同族被引用专利总数
117
诉讼案件数
0
法律状态/事件
授权 | 权利转移
抱歉,您的浏览器不支持PDF预览,请点击链接下载PDF文件