专利数据库
统计分析
产业报告
专利数据监控
产业人才
行业动态
产业政策法规
维权援助
个人中心
详情
文本
图像
标题
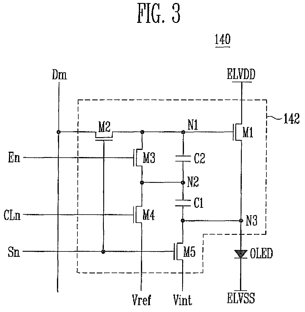
Pixel and organic light emitting display using the same
授权日
1900-01-01
公开(公告)号
EP2261884A1
申请日
2010-03-31
公开(公告)日
2010-12-15
当前申请(专利权)人
SAMSUNG MOBILE DISPLAY CO., LTD.
发明人
KANG, CHUL-KYU | CHOI, SANG-MOO | KIM, KEUM-NAM
简单同族
AT521060T | CN101908316A | CN101908316B | EP2261884A1 | EP2261884B1 | JP2010282169A | JP5070266B2 | KR101015339B1 | KR1020100131118A | US20100309187A1 | US8786587
简单同族成员数量
11
简单同族被引用专利总数
105
诉讼案件数
0
法律状态/事件
授权
抱歉,您的浏览器不支持PDF预览,请点击链接下载PDF文件