专利数据库
统计分析
产业报告
专利数据监控
产业人才
行业动态
产业政策法规
维权援助
个人中心
详情
文本
图像
标题
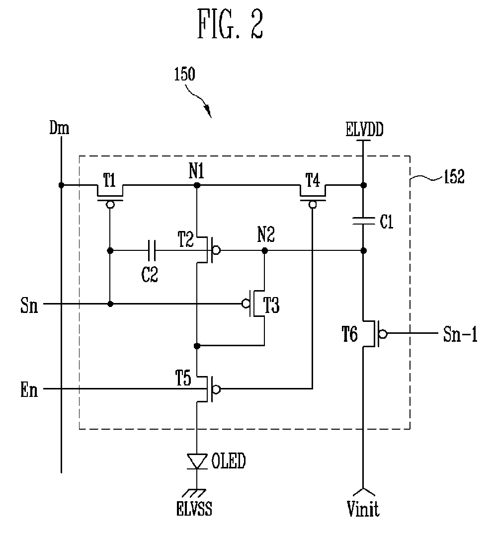
Pixel and organic light emitting display including the same
授权日
1900-01-01
公开(公告)号
EP2372683A1
申请日
2010-12-22
公开(公告)日
2011-10-05
当前申请(专利权)人
SAMSUNG DISPLAY CO., LTD.
发明人
BAE, HAN-SUNG | BAEK, JI-WON | KWAK, WON-KYU
简单同族
CN102194404A | CN102194404B | EP2372683A1 | JP2011191726A | JP5048811B2 | KR101056233B1 | TW201207820A | TWI512706B | US20110227893A1
简单同族成员数量
9
简单同族被引用专利总数
49
诉讼案件数
0
法律状态/事件
驳回 | 权利转移
抱歉,您的浏览器不支持PDF预览,请点击链接下载PDF文件