专利数据库
统计分析
产业报告
专利数据监控
产业人才
行业动态
产业政策法规
维权援助
个人中心
详情
文本
图像
标题
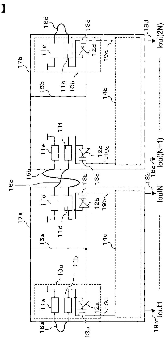
有機発光素子を用いた表示装置
授权日
2010-07-30
公开(公告)号
JP4559847B2
申请日
2003-04-23
公开(公告)日
2010-10-13
当前申请(专利权)人
東芝モバイルディスプレイ株式会社
发明人
柘植 仁志
简单同族
CN100536347C | CN1643796A | JP4559847B2 | JPWO2003092165A1 | JPWO2003092165A5 | KR100674542B1 | KR1020050002863A | TW200401243A | TWI264692B | US20050219162A1 | US20070120784A1 | US7180513 | US7817149 | WO2003092165A1
简单同族成员数量
14
简单同族被引用专利总数
67
诉讼案件数
0
法律状态/事件
未缴年费 | 权利转移
抱歉,您的浏览器不支持PDF预览,请点击链接下载PDF文件