专利数据库
统计分析
产业报告
专利数据监控
产业人才
行业动态
产业政策法规
维权援助
个人中心
详情
文本
图像
标题
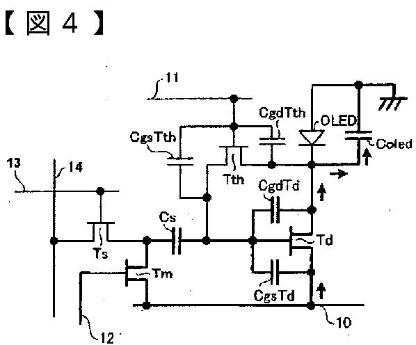
画像表示装置
授权日
2012-09-07
公开(公告)号
JP5080248B2
申请日
2006-10-27
公开(公告)日
2012-11-21
当前申请(专利权)人
エルジー ディスプレイ カンパニー リミテッド
发明人
高杉 親知
简单同族
CN101313349A | CN101313349B | JP5080248B2 | JPWO2007063662A1 | KR100987724B1 | KR1020080063404A | US20090213148A1 | US20090303260A1 | US20130113691A1 | US8368621 | WO2007063662A1
简单同族成员数量
11
简单同族被引用专利总数
50
诉讼案件数
0
法律状态/事件
授权 | 权利转移
抱歉,您的浏览器不支持PDF预览,请点击链接下载PDF文件