专利数据库
统计分析
产业报告
专利数据监控
产业人才
行业动态
产业政策法规
维权援助
个人中心
详情
文本
图像
标题
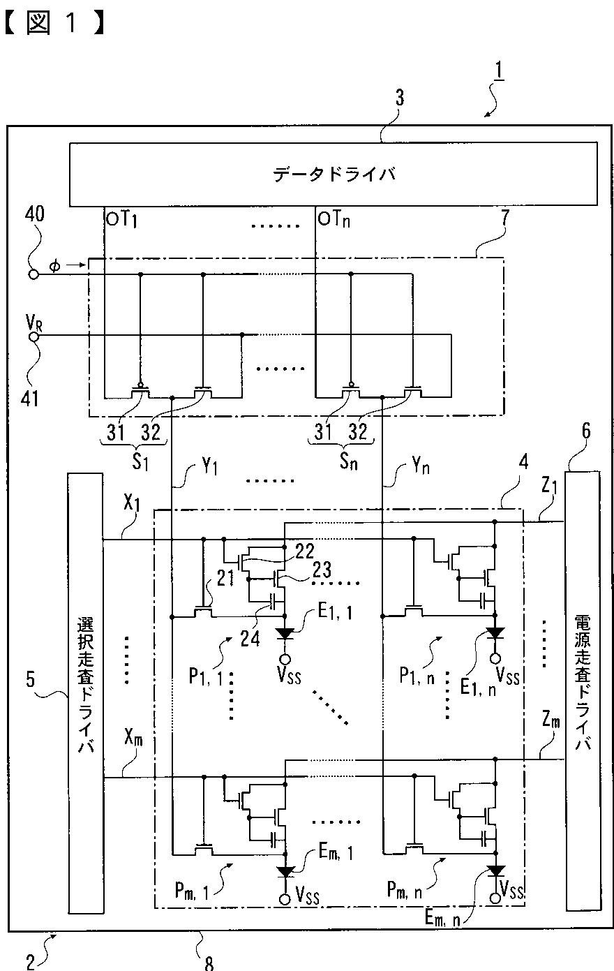
表示装置及び表示装置の駆動方法
授权日
2010-10-22
公开(公告)号
JP4610843B2
申请日
2002-06-20
公开(公告)日
2011-01-12
当前申请(专利权)人
カシオ計算機株式会社
发明人
佐藤 和仁 | 山田 裕康
简单同族
AU2003238700A1 | AU2003238700B2 | CA2460747A1 | CA2460747C | CN100367334C | CN100561557C | CN101071538A | CN1565013A | EP1417670A1 | EP1417670B1 | HK1073379A | HK1073379A1 | JP2004021219A | JP4610843B2 | KR100663391B1 | KR1020040041620A | MXPA04002755A | NO20041152L | SG103596A1 | TW200405237A | TWI250483B | US20040246241A1 | US7515121 | WO2004001714A1
简单同族成员数量
24
简单同族被引用专利总数
150
诉讼案件数
0
法律状态/事件
授权 | 权利转移
抱歉,您的浏览器不支持PDF预览,请点击链接下载PDF文件