专利数据库
统计分析
产业报告
专利数据监控
产业人才
行业动态
产业政策法规
维权援助
个人中心
详情
文本
图像
标题
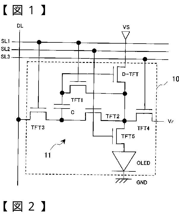
発光表示デバイス
授权日
2014-12-19
公开(公告)号
JP5665256B2
申请日
2007-11-09
公开(公告)日
2015-02-04
当前申请(专利权)人
キヤノン株式会社
发明人
安部 勝美
简单同族
CN101563720A | CN101563720B | EP2095354A1 | JP2008176287A | JP5665256B2 | KR1020090094146A | US20100001983A1 | US8243055 | WO2008075697A1
简单同族成员数量
9
简单同族被引用专利总数
130
诉讼案件数
0
法律状态/事件
授权
抱歉,您的浏览器不支持PDF预览,请点击链接下载PDF文件