专利数据库
统计分析
产业报告
专利数据监控
产业人才
行业动态
产业政策法规
维权援助
个人中心
详情
文本
图像
标题
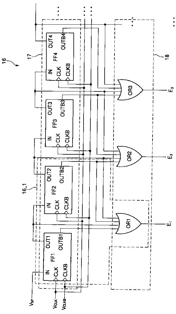
有機電界発光表示装置、発光制御駆動装置および論理和回路
授权日
1900-01-01
公开(公告)号
JP2007052432A
申请日
2006-08-15
公开(公告)日
2007-03-01
当前申请(专利权)人
三星モバイルディスプレイ株式會社
发明人
鄭 寶容
简单同族
DE602006019032D1 | EP1755103A1 | EP1755103B1 | JP2007052432A | JP4789746B2 | US20070040786A1 | US7623097
简单同族成员数量
7
简单同族被引用专利总数
50
诉讼案件数
0
法律状态/事件
未缴年费 | 权利转移
抱歉,您的浏览器不支持PDF预览,请点击链接下载PDF文件