专利数据库
统计分析
产业报告
专利数据监控
产业人才
行业动态
产业政策法规
维权援助
个人中心
详情
文本
图像
标题
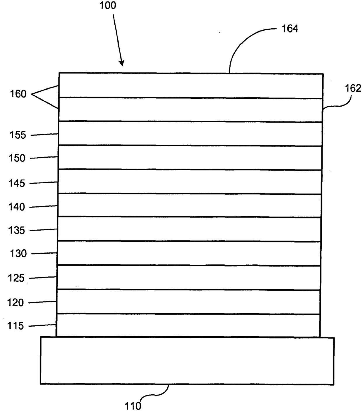
功率‑高效的RGBW OLED显示器
授权日
2016-12-21
公开(公告)号
CN103035664B
申请日
2012-10-08
公开(公告)日
2016-12-21
当前申请(专利权)人
通用显示公司
发明人
苏宇永 | M·韦弗
简单同族
CN103035664A | CN103035664B | KR101963089B1 | KR1020130036724A | KR1020180132577A | TW201332096A | TWI560869B | US20130082589A1 | US9123667
简单同族成员数量
9
简单同族被引用专利总数
69
诉讼案件数
0
法律状态/事件
授权
抱歉,您的浏览器不支持PDF预览,请点击链接下载PDF文件