专利数据库
统计分析
产业报告
专利数据监控
产业人才
行业动态
产业政策法规
维权援助
个人中心
详情
文本
图像
标题
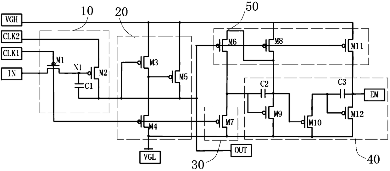
发射控制驱动电路、发射控制驱动器及有机发光显示装置
授权日
1900-01-01
公开(公告)号
CN108711399A
申请日
2018-05-29
公开(公告)日
2018-10-26
当前申请(专利权)人
昆山国显光电有限公司
发明人
胡思明 | 黄秀颀 | 吴剑龙 | 韩珍珍 | 张露
简单同族
CN108711399A | CN108711399B
简单同族成员数量
2
简单同族被引用专利总数
0
诉讼案件数
0
法律状态/事件
授权
抱歉,您的浏览器不支持PDF预览,请点击链接下载PDF文件