专利数据库
统计分析
产业报告
专利数据监控
产业人才
行业动态
产业政策法规
维权援助
个人中心
详情
文本
图像
标题
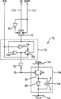
像素电路、发光装置和电子仪器
授权日
2009-12-16
公开(公告)号
CN100570687C
申请日
2006-01-26
公开(公告)日
2009-12-16
当前申请(专利权)人
智基石盾科技有限责任公司
发明人
若林淳一
简单同族
CN100570687C | CN1811885A
简单同族成员数量
2
简单同族被引用专利总数
0
诉讼案件数
0
法律状态/事件
授权 | 权利转移
抱歉,您的浏览器不支持PDF预览,请点击链接下载PDF文件