专利数据库
统计分析
产业报告
专利数据监控
产业人才
行业动态
产业政策法规
维权援助
个人中心
详情
文本
图像
标题
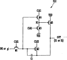
扫描驱动电路和使用该扫描驱动电路的有机发光显示器
授权日
1900-01-01
公开(公告)号
CN1937020A
申请日
2006-09-20
公开(公告)日
2007-03-28
当前申请(专利权)人
三星显示有限公司
发明人
申东蓉
简单同族
CN100541577C | CN1937020A | DE602006006514D1 | EP1764774A2 | EP1764774A3 | EP1764774B1 | JP2007086727A | JP4612580B2 | KR100729099B1 | KR1020070032870A | US20070079191A1 | US7782276
简单同族成员数量
12
简单同族被引用专利总数
81
诉讼案件数
0
法律状态/事件
未缴年费 | 权利转移
抱歉,您的浏览器不支持PDF预览,请点击链接下载PDF文件