专利数据库
统计分析
产业报告
专利数据监控
产业人才
行业动态
产业政策法规
维权援助
个人中心
详情
文本
图像
标题
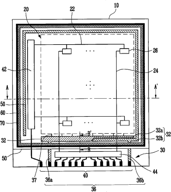
有机发光显示装置
授权日
1900-01-01
公开(公告)号
CN101140945A
申请日
2007-09-04
公开(公告)日
2008-03-12
当前申请(专利权)人
三星显示有限公司
发明人
成栋永 | 李根洙
简单同族
CN101140945A | CN101140945B | EP1895592A1 | EP1895592B1 | JP2008066266A | JP4777219B2 | KR100722118B1 | US20080054796A1 | US20100062553A1 | US7595854 | US7901961
简单同族成员数量
11
简单同族被引用专利总数
61
诉讼案件数
0
法律状态/事件
授权 | 权利转移
抱歉,您的浏览器不支持PDF预览,请点击链接下载PDF文件