专利数据库
统计分析
产业报告
专利数据监控
产业人才
行业动态
产业政策法规
维权援助
个人中心
详情
文本
图像
标题
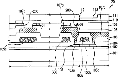
有机电致发光显示器
授权日
1900-01-01
公开(公告)号
CN1592520A
申请日
2004-08-27
公开(公告)日
2005-03-09
当前申请(专利权)人
三星显示有限公司
发明人
朴商一 | 姜泰旭
简单同族
CN100449773C | CN1592520A | JP2005078073A | KR100551046B1 | KR1020050023014A | US20050045882A1 | US7211826
简单同族成员数量
7
简单同族被引用专利总数
60
诉讼案件数
0
法律状态/事件
授权 | 权利转移
抱歉,您的浏览器不支持PDF预览,请点击链接下载PDF文件