专利数据库
统计分析
产业报告
专利数据监控
产业人才
行业动态
产业政策法规
维权援助
个人中心
详情
文本
图像
标题
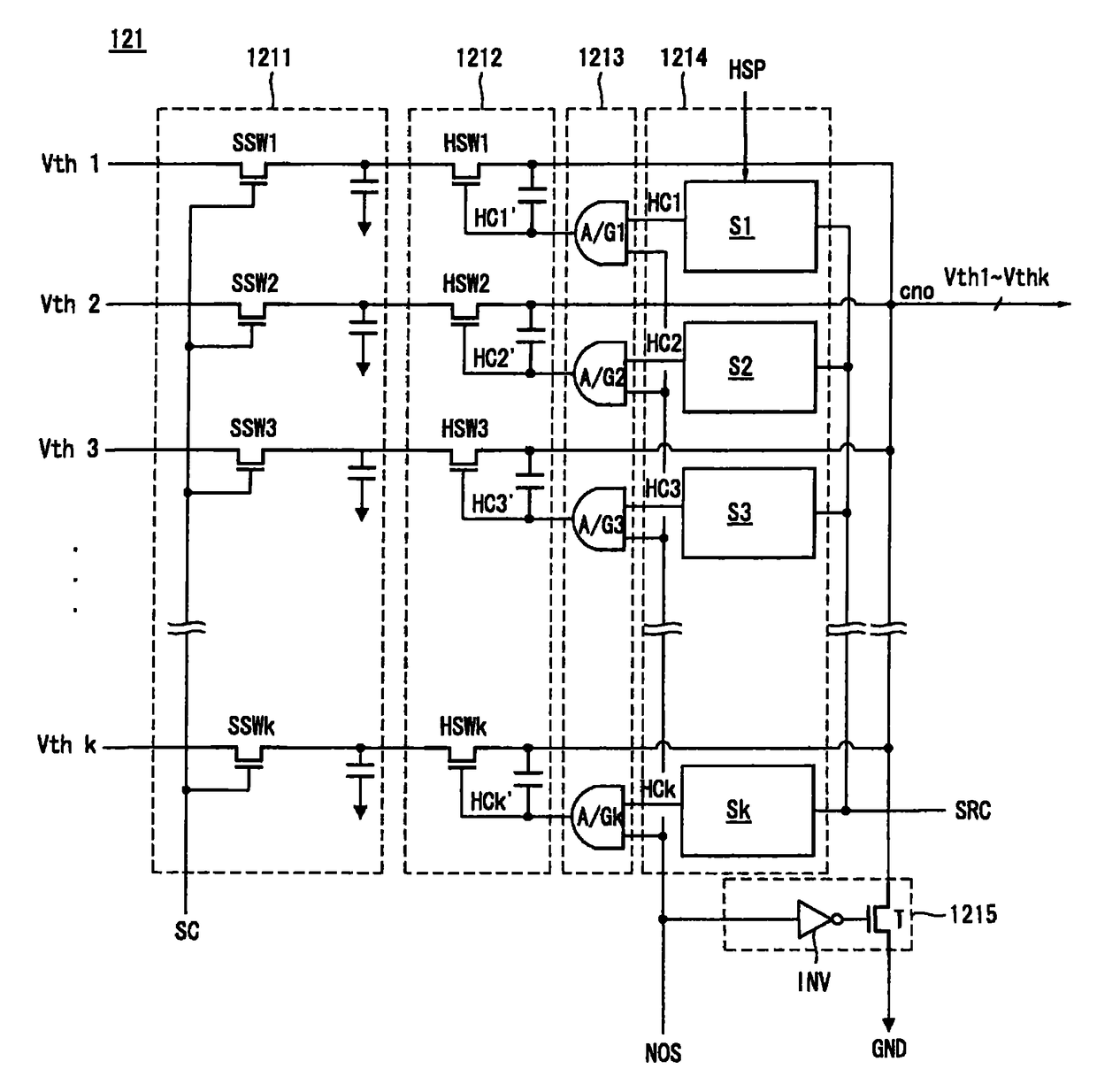
有机发光二极管显示器
授权日
2012-07-18
公开(公告)号
CN101714329B
申请日
2009-06-08
公开(公告)日
2012-07-18
当前申请(专利权)人
乐金显示有限公司
发明人
柳相镐 | 禹景敦 | 李在度 | 洪荣晙
简单同族
CN101714329A | CN101714329B | KR101329458B1 | KR1020100039096A | US20100085282A1 | US8446345
简单同族成员数量
6
简单同族被引用专利总数
85
诉讼案件数
0
法律状态/事件
授权
抱歉,您的浏览器不支持PDF预览,请点击链接下载PDF文件