专利数据库
统计分析
产业报告
专利数据监控
产业人才
行业动态
产业政策法规
维权援助
个人中心
详情
文本
图像
标题
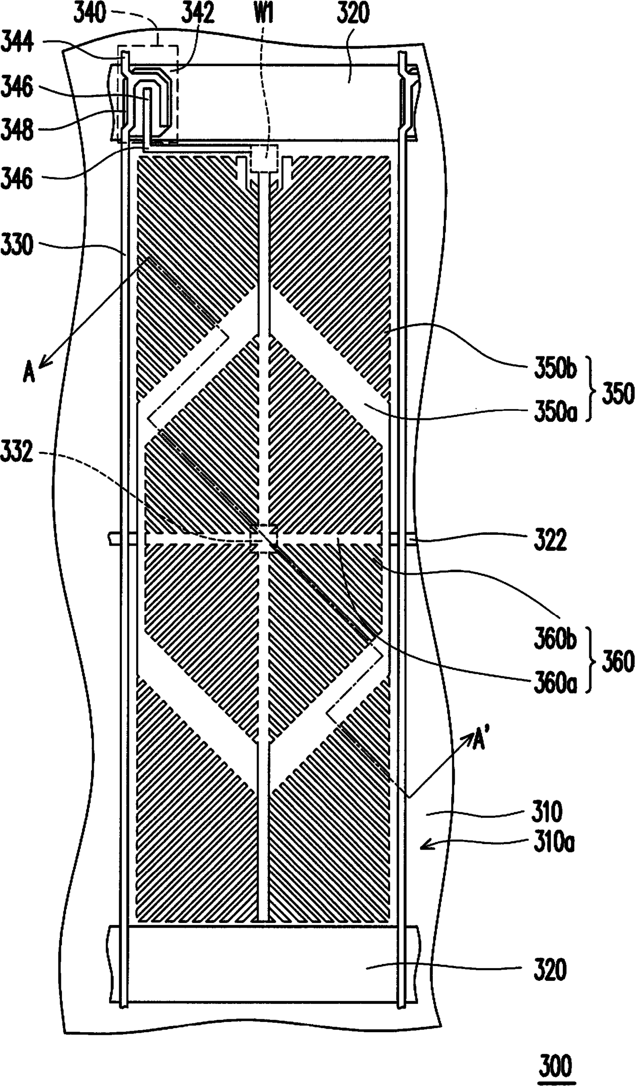
像素基板、液晶显示面板、液晶显示装置
授权日
1900-01-01
公开(公告)号
CN104597680A
申请日
2010-12-24
公开(公告)日
2015-05-06
当前申请(专利权)人
群创光电股份有限公司 | 群康科技(深圳)有限公司
发明人
陈建诚 | 陈建宏 | 谢志勇 | 罗伟 | 林俊旭 | 杨清喆 | 陈嘉伦
简单同族
CN104597680A
简单同族成员数量
1
简单同族被引用专利总数
0
诉讼案件数
0
法律状态/事件
撤回
抱歉,您的浏览器不支持PDF预览,请点击链接下载PDF文件