首页
专利数据库
产业人才
行业动态
产业政策法规
维权援助
个人中心
登录/注册
详情
文本
图像
标题:
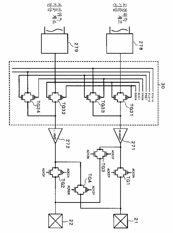
액정 표시 장치
授权日:
2002-06-27
公开(公告)号:
KR100343922B1
申请日:
2000-07-08
公开(公告)日:
2002-07-20
当前申请(专利权)人:
가부시키가이샤 히타치세이사쿠쇼 | 히타치 디바이스엔지니어링 가부시키가이샤
发明人:
이또우시게루 | 가따오까노보루 | 오구라아끼라
简单同族:
JP2001022328A | JP3681580B2 | KR100343922B1 | KR1020010015252A | TW550532B | US6529180
简单同族成员数量:
6
简单同族被引用专利总数:
97
诉讼案件数:
0
法律状态/事件:
期限届满 | 权利转移