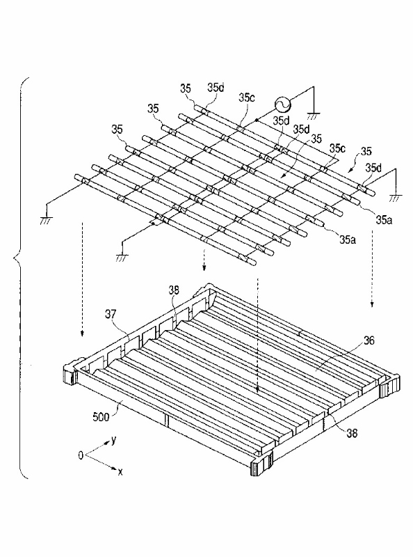
标题:
액정 표시장치
授权日:
1900-01-01
公开(公告)号:
KR1020010105190A
申请日:
2001-05-15
公开(公告)日:
2001-11-28
当前申请(专利权)人:
가부시키가이샤 히타치세이사쿠쇼 | 가부시끼가이샤 히다치 디스플레이 디바이시즈
发明人:
야지마토시히로 | 니시야마세이이치 | 타카쿠시게타케 | 타케다요시하루 | 미코시바시게오 | 시가토모카즈 | 하시모토코지 | 바바유스케
简单同族:
KR100418490B1 | KR1020010105190A | TWI301908B | US20010050735A1 | US20050280625A1 | US20070182702A1 | US20090174644A1 | US6956556 | US7218308 | US7518594 | US7990361
简单同族成员数量:
11
简单同族被引用专利总数:
50
诉讼案件数:
0
法律状态/事件:
未缴年费 | 权利转移