标题:
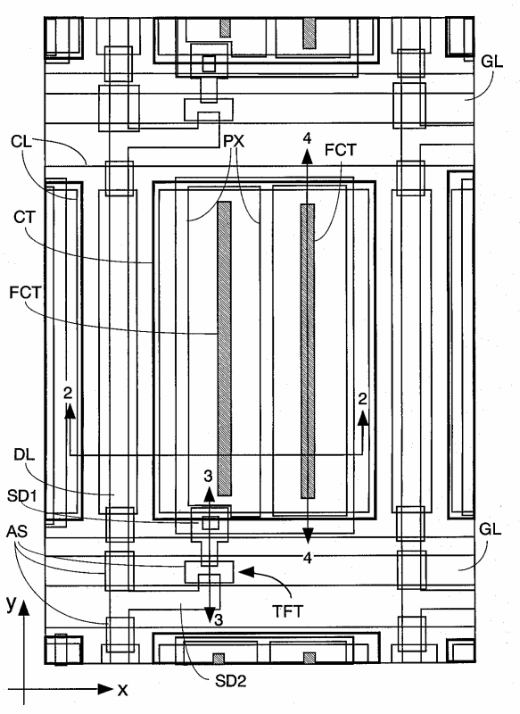
액정 표시 장치
授权日:
1900-01-01
公开(公告)号:
KR1020010030357A
申请日:
2000-09-09
公开(公告)日:
2001-04-16
当前申请(专利权)人:
가부시키가이샤 히타치세이사쿠쇼
发明人:
오노기꾸오 | 요네야마꼬또 | 야마모또즈네노리 | 히라까따준이찌 | 나까요시요시아끼
简单同族:
CN100363794C | CN1208671C | CN1289067A | CN1680845A | CN1873490A | EP1087255A2 | EP1087255A3 | EP1087255B1 | EP2372443A1 | EP2372443B1 | JP2001091972A | JP3712899B2 | KR100373667B1 | KR1020010030357A | TWI228199B | US6356331
简单同族成员数量:
16
简单同族被引用专利总数:
108
诉讼案件数:
0
法律状态/事件:
未缴年费 | 权利转移