首页
专利数据库
产业人才
行业动态
产业政策法规
维权援助
个人中心
登录/注册
详情
文本
图像
标题:
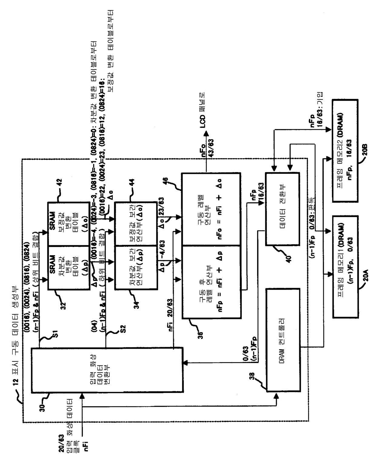
고속 응답을 위해 구동 보상을 행하는 액정표시장치의제어회로
授权日:
1900-01-01
公开(公告)号:
KR1020020080243A
申请日:
2002-03-22
公开(公告)日:
2002-10-23
当前申请(专利权)人:
샤프 가부시키가이샤
发明人:
스즈키도시아키 | 요네무라고슈 | 히라키가츠요시 | 야마자키히로시 | 다나카가츠노리
简单同族:
JP2002297104A | JP2002297104A5 | JP3739297B2 | KR100707774B1 | KR1020020080243A | TW554330B | US20020140652A1 | US6833886
简单同族成员数量:
8
简单同族被引用专利总数:
110
诉讼案件数:
0
法律状态/事件:
放弃