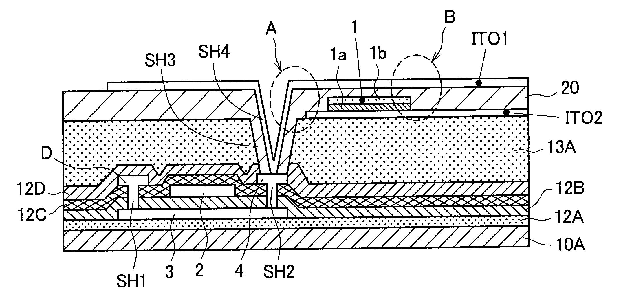
标题:
액정 표시 장치
授权日:
1900-01-01
公开(公告)号:
KR1020070045936A
申请日:
2006-10-26
公开(公告)日:
2007-05-02
当前申请(专利权)人:
가부시키가이샤 재팬 디스프레이
发明人:
소노다다이스께 | 오찌아이다까히로 | 기무라야스까즈 | 마끼마사히로 | 미야자와도시오
简单同族:
CN100478755C | CN1955803A | JP2007121587A | JP2007121587A5 | JP5258156B2 | KR100880969B1 | KR1020070045936A | TW200732803A | TWI357529B | US20070097303A1 | US7639331
简单同族成员数量:
11
简单同族被引用专利总数:
62
诉讼案件数:
0
法律状态/事件:
授权 | 权利转移