首页
专利数据库
产业人才
行业动态
产业政策法规
维权援助
个人中心
登录/注册
详情
文本
图像
标题:
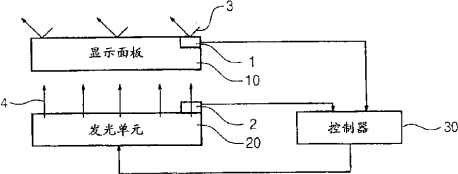
液晶显示器及其驱动方法
授权日:
2013-06-26
公开(公告)号:
CN101135794B
申请日:
2007-09-03
公开(公告)日:
2013-06-26
当前申请(专利权)人:
三星显示有限公司
发明人:
朴文秀
简单同族:
CN101135794A | CN101135794B | JP2008058937A | JP2008058937A5 | JP5060810B2 | KR101251543B1 | KR1020080020859A | US20080055297A1 | US8013821
简单同族成员数量:
9
简单同族被引用专利总数:
53
诉讼案件数:
0
法律状态/事件:
未缴年费 | 权利转移