首页
专利数据库
产业人才
行业动态
产业政策法规
维权援助
个人中心
登录/注册
详情
文本
图像
标题:
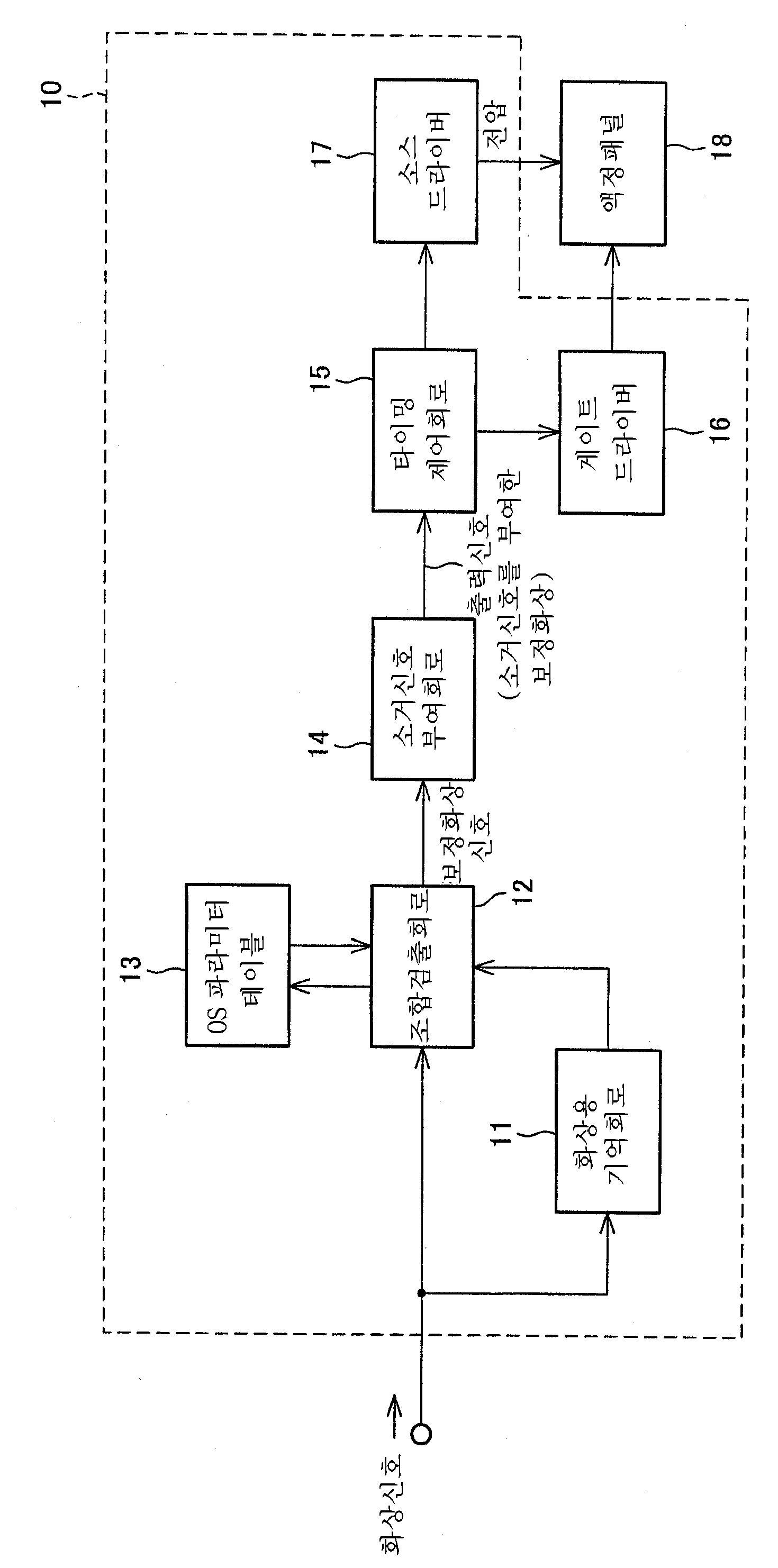
액정표시장치 및 그의 구동방법
授权日:
1900-01-01
公开(公告)号:
KR1020060043643A
申请日:
2005-03-15
公开(公告)日:
2006-05-15
当前申请(专利权)人:
샤프 가부시키가이샤
发明人:
아다치,타카코 | 시오미마코토
简单同族:
CN100426057C | CN1670581A | JP2005301220A | JP4191136B2 | KR100700104B1 | KR1020060043643A | TW200535765A | TWI276026B | US20050200619A1 | US7777765
简单同族成员数量:
10
简单同族被引用专利总数:
49
诉讼案件数:
0
法律状态/事件:
放弃