首页
专利数据库
产业人才
行业动态
产业政策法规
维权援助
个人中心
登录/注册
详情
文本
图像
标题:
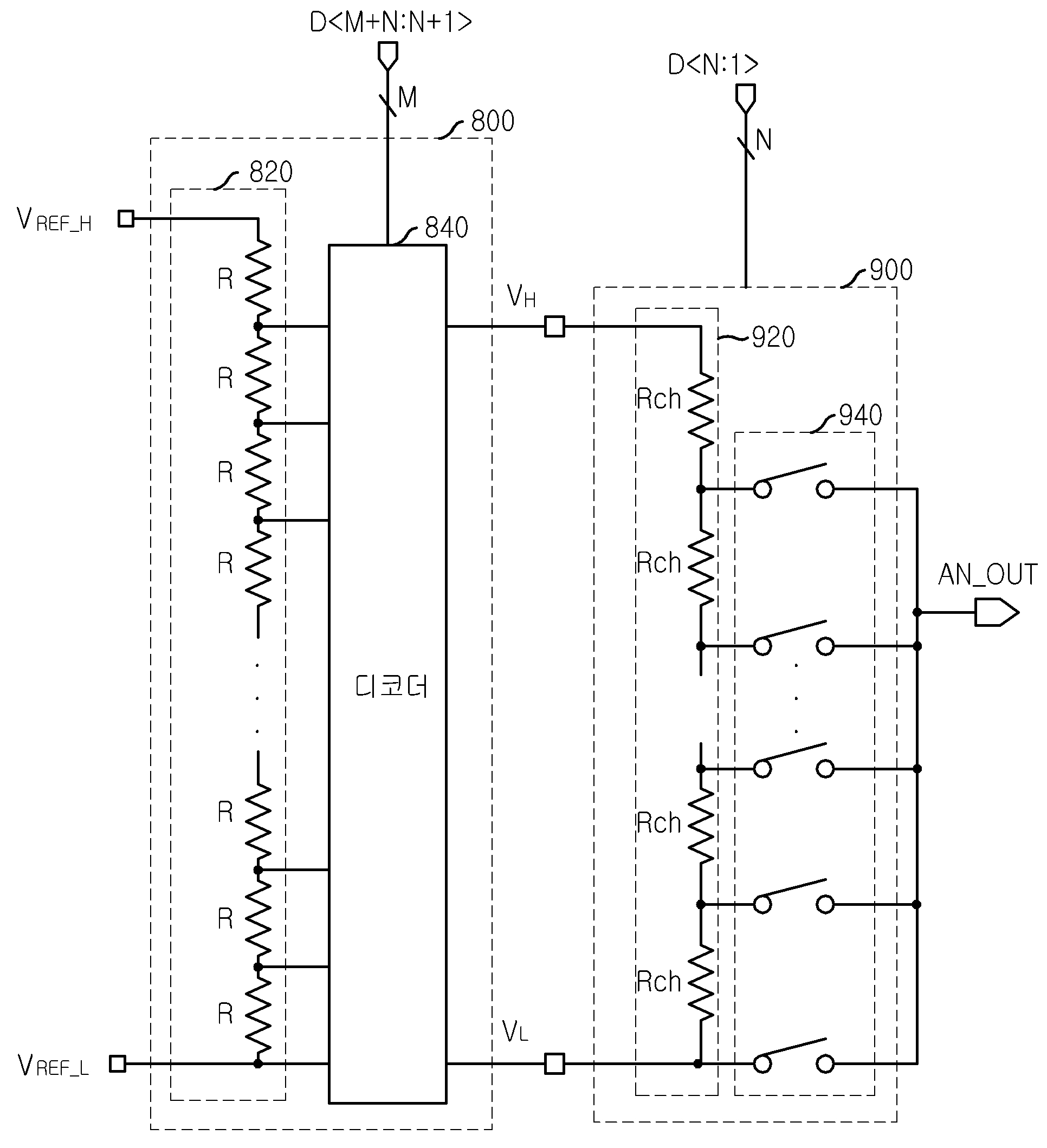
액정표시장치의 소스 드라이버
授权日:
1900-01-01
公开(公告)号:
KR1020060011509A
申请日:
2004-07-30
公开(公告)日:
2006-02-03
当前申请(专利权)人:
매그나칩 반도체 유한회사
发明人:
성유창 | 김종기
简单同族:
JP2006047969A | JP5334353B2 | KR100588745B1 | KR1020060011509A | TW200605011A | TWI395183B | US20060023001A1 | US7425941
简单同族成员数量:
8
简单同族被引用专利总数:
81
诉讼案件数:
0
法律状态/事件:
授权