首页
专利数据库
产业人才
行业动态
产业政策法规
维权援助
个人中心
登录/注册
详情
文本
图像
标题:
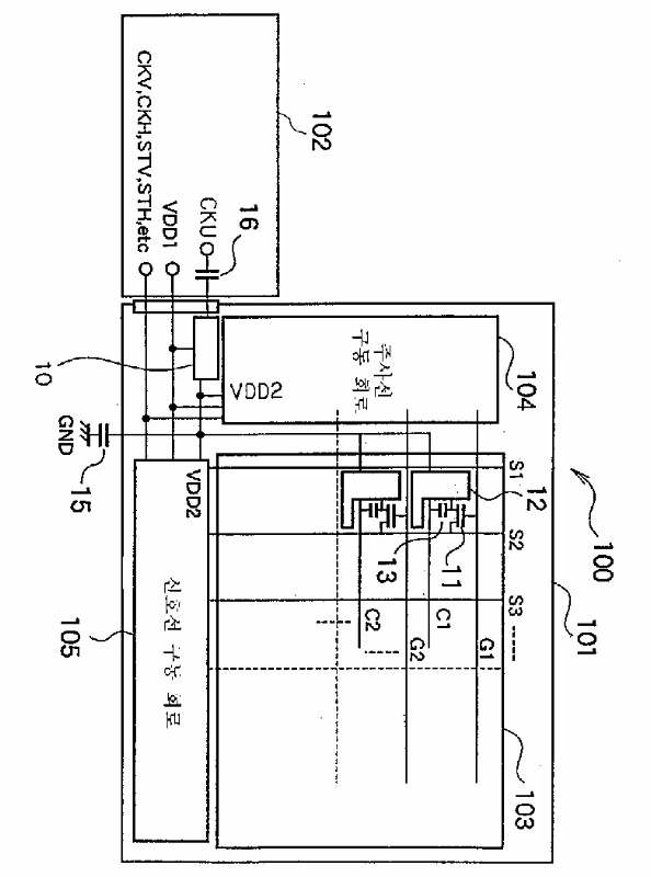
차지 펌프 회로 및 평면 표시 장치
授权日:
1900-01-01
公开(公告)号:
KR1020010109485A
申请日:
2001-05-30
公开(公告)日:
2001-12-10
当前申请(专利权)人:
가부시끼가이샤 도시바
发明人:
사사끼야스시 | 미야따께마사끼 | 사또하지메 | 쯔나시마다까노리 | 하나자와야스유끼 | 히라이호꼬
简单同族:
KR100432292B1 | KR1020010109485A | TWI238375B | US20020011798A1 | US20040012584A1 | US6617796 | US7019735
简单同族成员数量:
7
简单同族被引用专利总数:
56
诉讼案件数:
0
法律状态/事件:
未缴年费 | 权利转移