首页
专利数据库
产业人才
行业动态
产业政策法规
维权援助
个人中心
登录/注册
详情
文本
图像
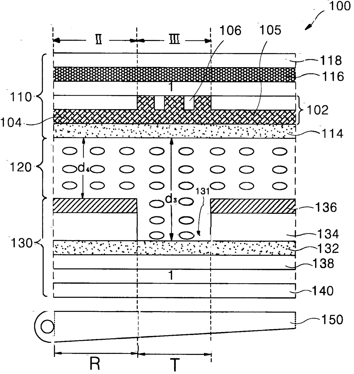
标题:
반투과형 액정표시장치용 컬러필터 및 그의 제조방법
授权日:
2007-03-21
公开(公告)号:
KR100700635B1
申请日:
2000-10-27
公开(公告)日:
2007-03-27
当前申请(专利权)人:
엘지디스플레이 주식회사
发明人:
김웅권 | 유상희
简单同族:
KR100700635B1 | KR1020020032854A | US20020054256A1 | US6522377
简单同族成员数量:
4
简单同族被引用专利总数:
133
诉讼案件数:
0
法律状态/事件:
未缴年费