标题:
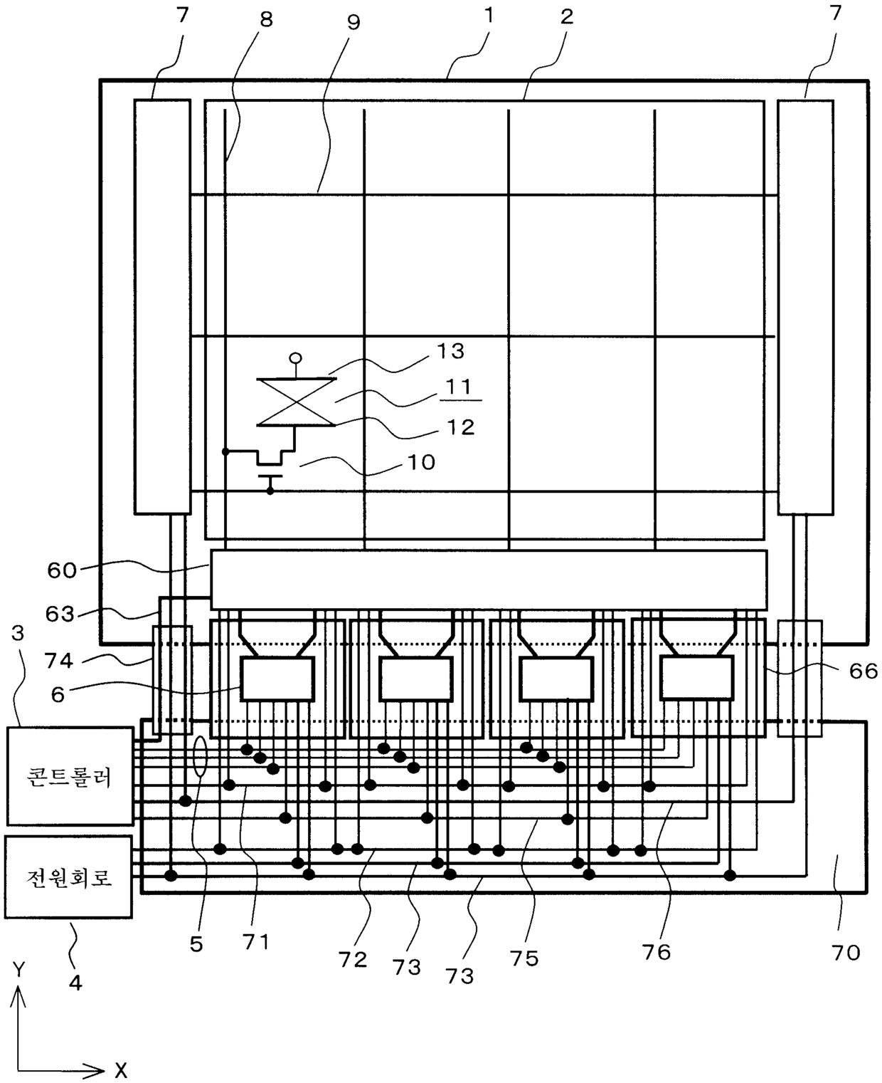
액정표시장치
授权日:
1900-01-01
公开(公告)号:
KR1020030076270A
申请日:
2003-02-28
公开(公告)日:
2003-09-26
当前申请(专利权)人:
가부시키가이샤 히타치세이사쿠쇼 | 가부시키가이샤 재팬 디스프레이
发明人:
와타나베히로시 | 야스카와신지 | 키다히데토시 | 오오이시요시히사
简单同族:
CN1267881C | CN1445744A | JP2003270660A | JP2003270660A5 | JP4027691B2 | KR100556284B1 | KR1020030076270A | TW200304565A | TW594316B | US20030174107A1 | US20060092121A1 | US20110074747A1 | US7106295 | US7868860 | US8072404
简单同族成员数量:
15
简单同族被引用专利总数:
63
诉讼案件数:
0
法律状态/事件:
授权 | 权利转移