首页
专利数据库
产业人才
行业动态
产业政策法规
维权援助
个人中心
登录/注册
详情
文本
图像
标题:
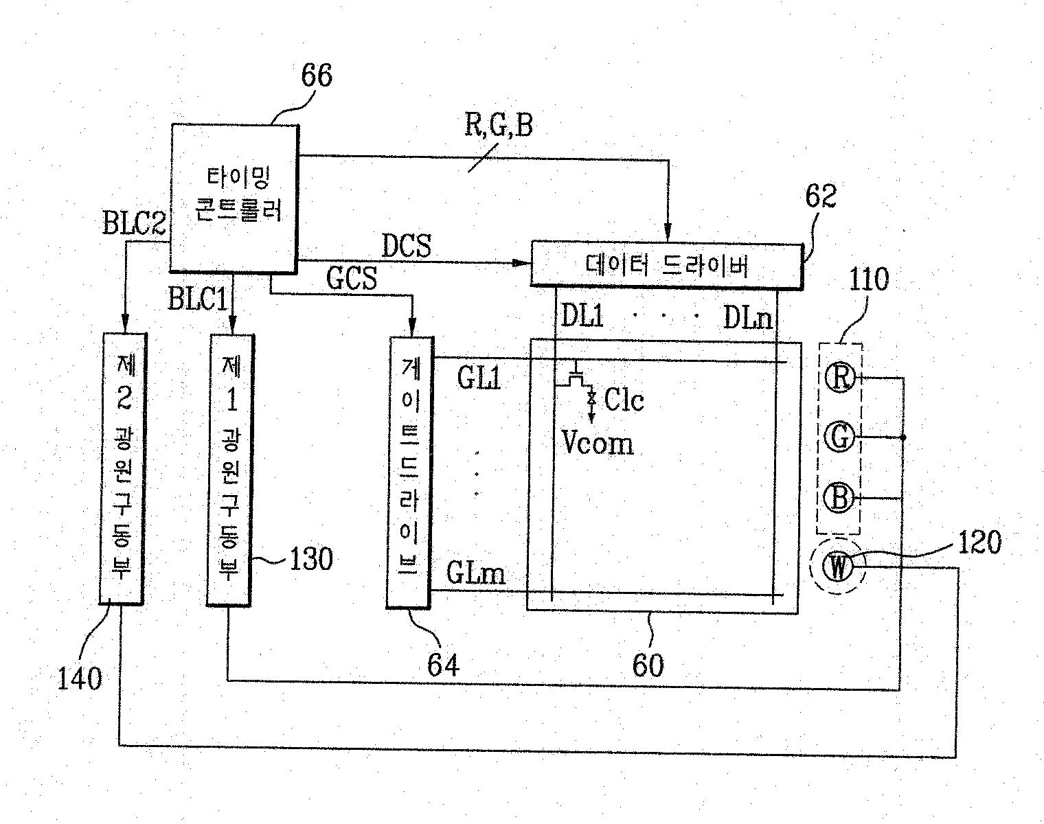
액정표시장치 및 그의 구동방법
授权日:
1900-01-01
公开(公告)号:
KR1020060000601A
申请日:
2004-06-29
公开(公告)日:
2006-01-06
当前申请(专利权)人:
엘지디스플레이 주식회사
发明人:
PARK,HEEJEONG
简单同族:
CN100378531C | CN1716039A | KR101016288B1 | KR1020060000601A | US20060007112A1 | US8721096
简单同族成员数量:
6
简单同族被引用专利总数:
85
诉讼案件数:
0
法律状态/事件:
未缴年费