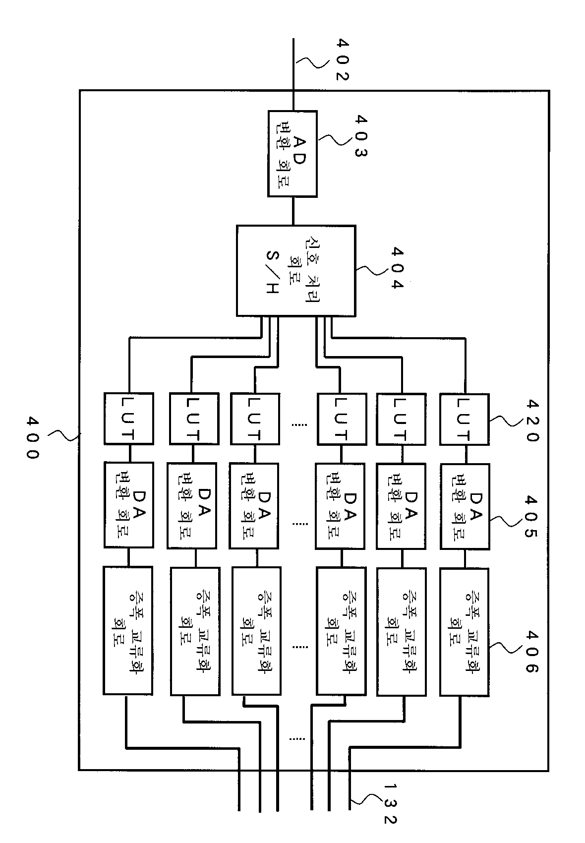
标题:
액정 표시 장치
授权日:
2005-07-28
公开(公告)号:
KR100506434B1
申请日:
2002-06-07
公开(公告)日:
2005-08-11
当前申请(专利权)人:
가부시키가이샤 히타치세이사쿠쇼 | 히다치디바이스 엔지니어링가부시키가이샤
发明人:
마루오까요시오 | 미소노우도시끼 | 마에다도시오 | 와따나베아끼히로 | 나까가와히데끼
简单同族:
CN1266665C | CN1391205A | JP2002366119A | JP4185678B2 | KR100506434B1 | KR1020020093625A | TW580680B | US20020186192A1 | US20060050045A1 | US6980189 | US7978162
简单同族成员数量:
11
简单同族被引用专利总数:
102
诉讼案件数:
0
法律状态/事件:
未缴年费 | 权利转移