首页
专利数据库
产业人才
行业动态
产业政策法规
维权援助
个人中心
登录/注册
详情
文本
图像
标题:
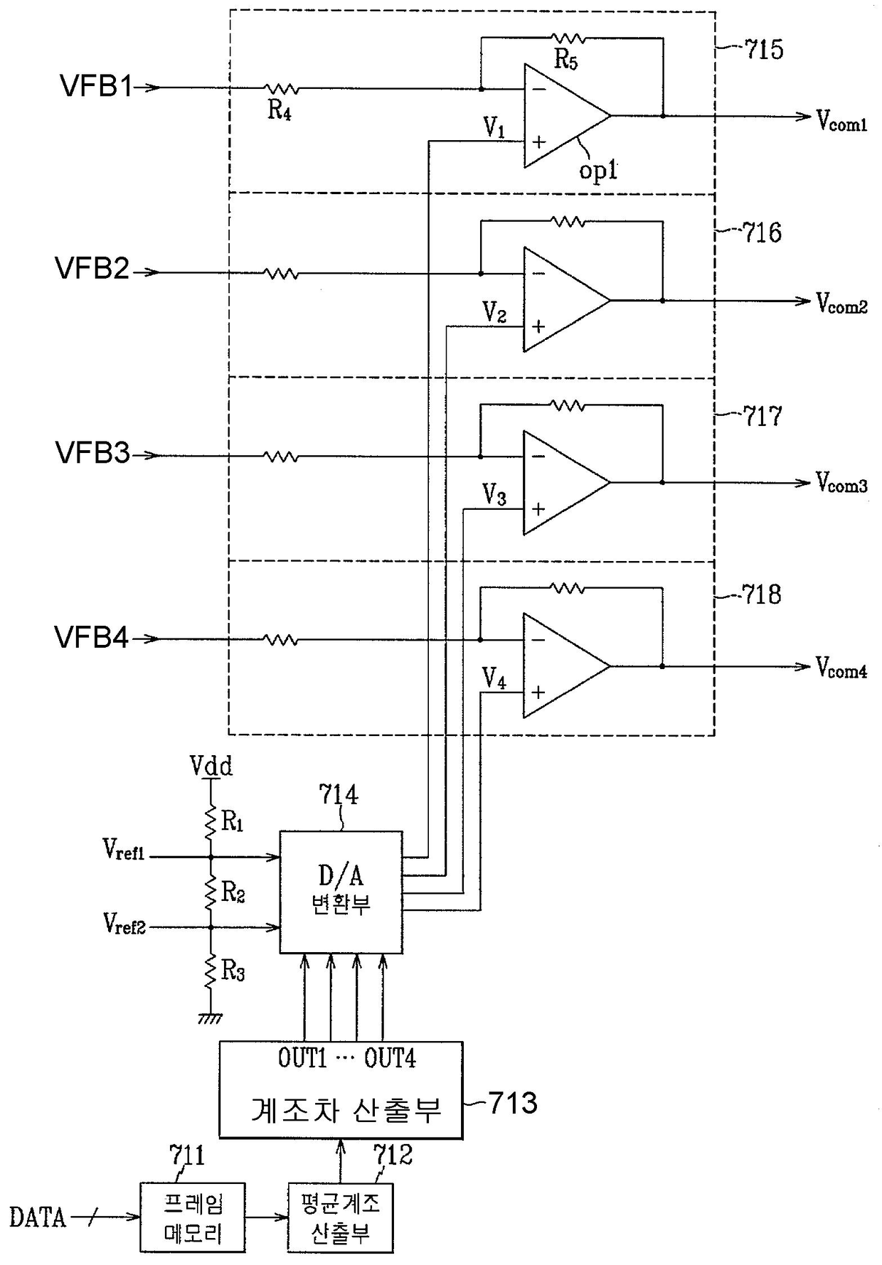
크기가 다른 공통 전압을 생성하는 액정 표시 장치
授权日:
1900-01-01
公开(公告)号:
KR1020040053641A
申请日:
2002-12-17
公开(公告)日:
2004-06-24
当前申请(专利权)人:
삼성전자주식회사
发明人:
홍윤택
简单同族:
JP2004199065A | JP4776877B2 | KR100900548B1 | KR1020040053641A | TW200413782A | TWI342415B | US20040169627A1 | US7102604
简单同族成员数量:
8
简单同族被引用专利总数:
124
诉讼案件数:
0
法律状态/事件:
授权 | 权利转移