首页
专利数据库
产业人才
行业动态
产业政策法规
维权援助
个人中心
登录/注册
详情
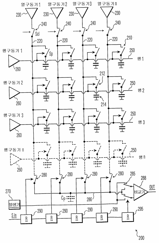
文本
图像
标题:
자체 교정하는 이미지 디스플레이 디바이스
授权日:
1900-01-01
公开(公告)号:
KR1020040032906A
申请日:
2002-07-12
公开(公告)日:
2004-04-17
当前申请(专利权)人:
코닌클리케 필립스 엔.브이.
发明人:
잔쎈,페테르,제이. | 알부,루시안,알.
简单同族:
CN1541388A | EP1435083A1 | JP2005502073A | KR1020040032906A | US20030034941A1 | US6795046 | WO2003017243A1 | WO2003017243A8
简单同族成员数量:
8
简单同族被引用专利总数:
54
诉讼案件数:
0
法律状态/事件:
撤回