首页
专利数据库
产业人才
行业动态
产业政策法规
维权援助
个人中心
登录/注册
详情
文本
图像
标题:
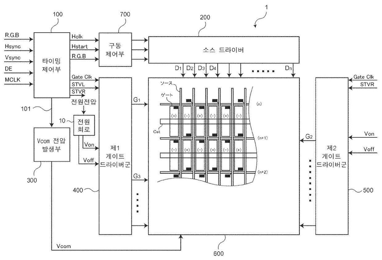
액정표시장치
授权日:
1900-01-01
公开(公告)号:
KR1020080084081A
申请日:
2007-03-14
公开(公告)日:
2008-09-19
当前申请(专利权)人:
삼성디스플레이 주식회사
发明人:
센다,미치루 | 요코야마,로이치
简单同族:
CN101266767A | CN101266767B | EP1970888A2 | EP1970888A3 | JP2008225424A | JP5312750B2 | KR101388588B1 | KR1020080084081A | US20080224980A1 | US8823622
简单同族成员数量:
10
简单同族被引用专利总数:
65
诉讼案件数:
0
法律状态/事件:
授权