首页
专利数据库
产业人才
行业动态
产业政策法规
维权援助
个人中心
登录/注册
详情
文本
图像
标题:
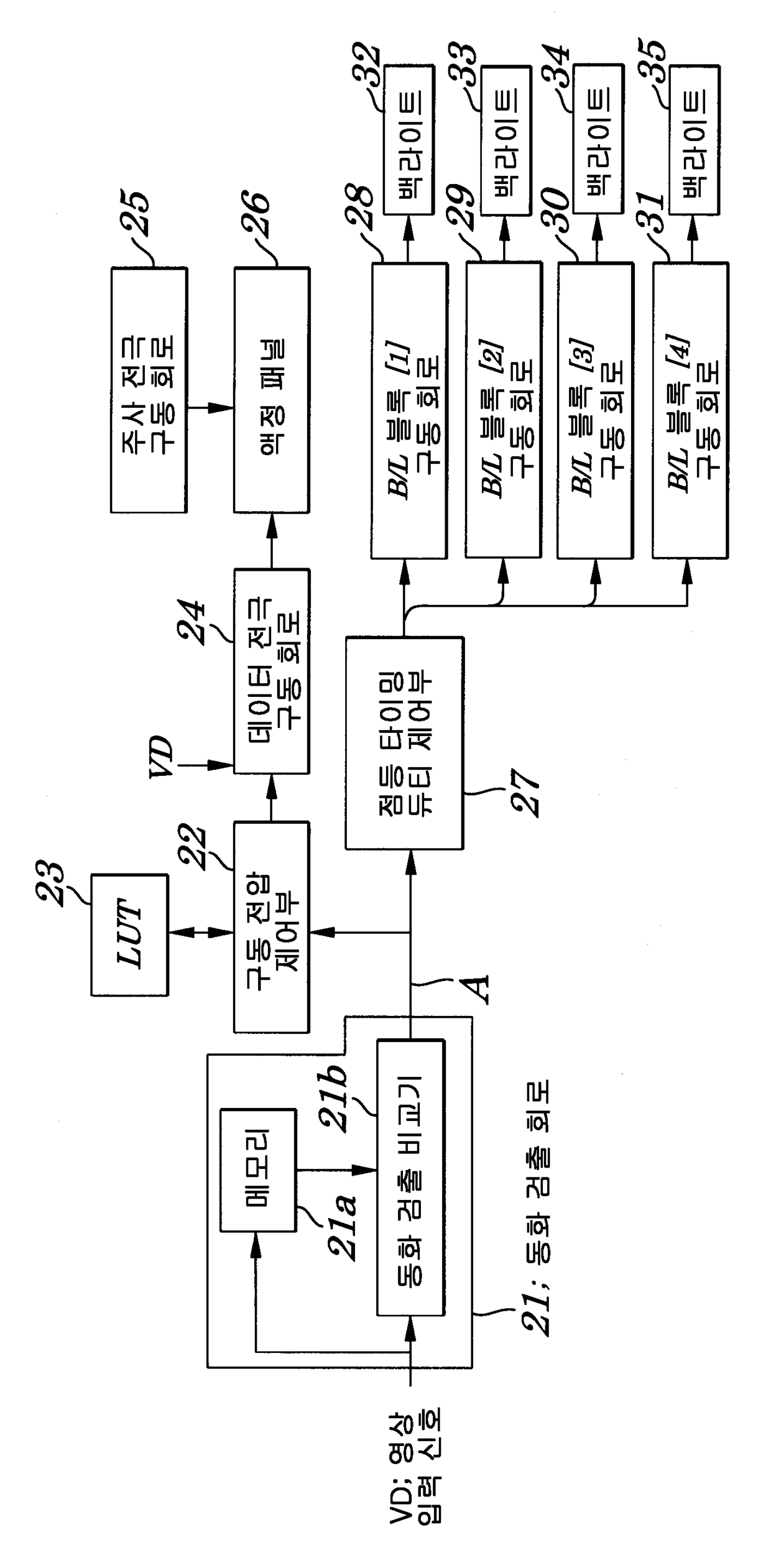
액정 표시 장치 및 해당 액정 표시 장치에 이용되는 구동방법
授权日:
1900-01-01
公开(公告)号:
KR1020050030123A
申请日:
2004-09-22
公开(公告)日:
2005-03-29
当前申请(专利权)人:
엔엘티 테크놀로지 가부시키가이샤
发明人:
HONBO,NOBUAKI
简单同族:
CN1637508A | CN1637508B | JP2005099367A | JP4299622B2 | KR100662161B1 | KR1020050030123A | TW200530993A | TWI285359B | US20050062681A1 | US7298358
简单同族成员数量:
10
简单同族被引用专利总数:
98
诉讼案件数:
0
法律状态/事件:
授权 | 权利转移