首页
专利数据库
产业人才
行业动态
产业政策法规
维权援助
个人中心
登录/注册
详情
文本
图像
标题:
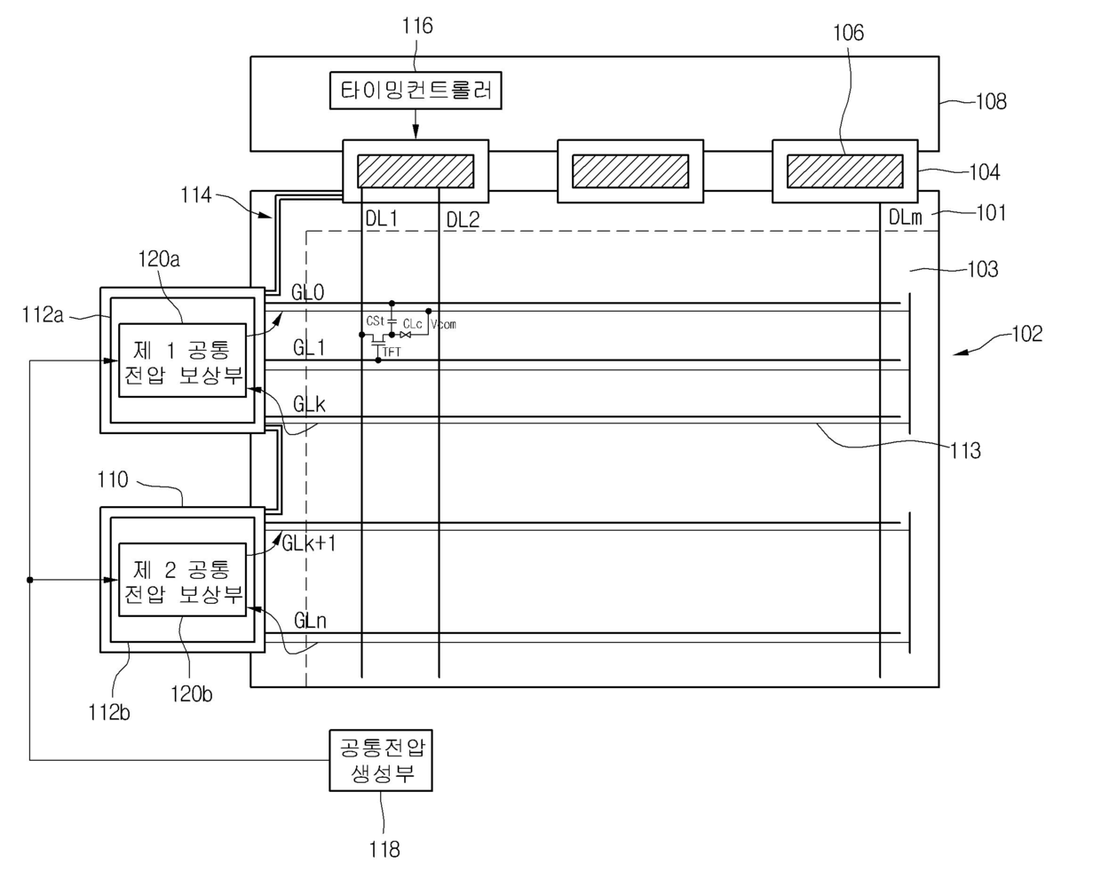
발명의 명칭 액정표시장치
授权日:
2012-07-13
公开(公告)号:
KR101167314B1
申请日:
2005-06-29
公开(公告)日:
2012-07-19
当前申请(专利权)人:
엘지디스플레이 주식회사
发明人:
강은경 | 김도영
简单同族:
FR2888031A1 | FR2888031B1 | KR101167314B1 | KR1020070001507A | US20070002005A1 | US8044900
简单同族成员数量:
6
简单同族被引用专利总数:
81
诉讼案件数:
0
法律状态/事件:
授权