首页
专利数据库
产业人才
行业动态
产业政策法规
维权援助
个人中心
登录/注册
详情
文本
图像
标题:
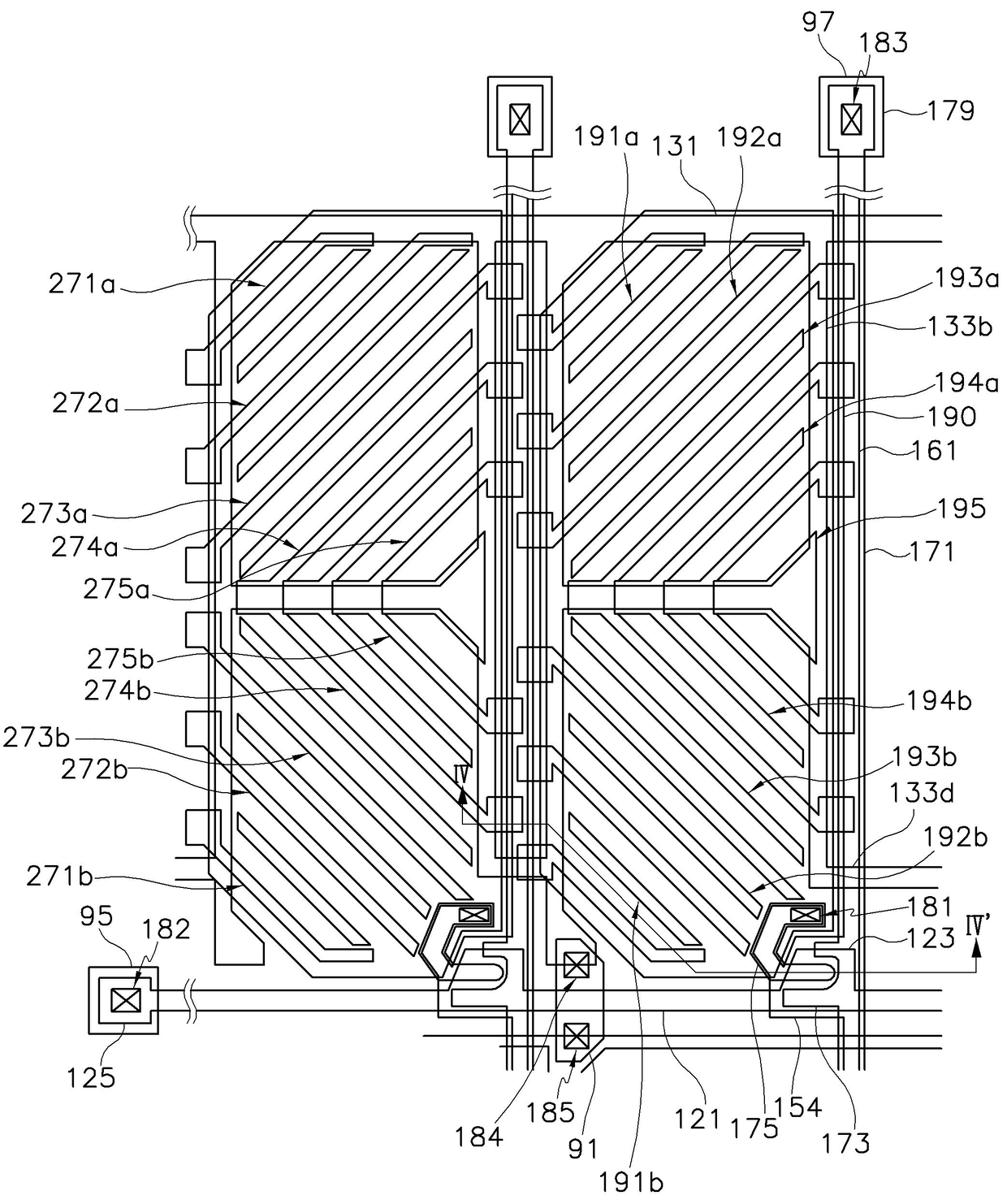
액정 표시 장치
授权日:
2009-10-30
公开(公告)号:
KR100925463B1
申请日:
2003-02-17
公开(公告)日:
2009-11-06
当前申请(专利权)人:
삼성전자주식회사
发明人:
김일곤 | 송유리
简单同族:
JP2004252456A | JP5059286B2 | KR100925463B1 | KR1020040074265A | TW200500748A | TWI368088B | US20040160560A1 | US6954246
简单同族成员数量:
8
简单同族被引用专利总数:
55
诉讼案件数:
0
法律状态/事件:
未缴年费 | 权利转移