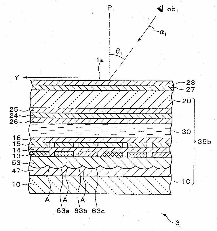
标题:
시각특성을 개량한 액정표시장치 및 이를 이용한휴대전자기기
授权日:
1900-01-01
公开(公告)号:
KR1020020082110A
申请日:
2002-04-16
公开(公告)日:
2002-10-30
当前申请(专利权)人:
알프스 덴키 가부시키가이샤
发明人:
요시이가쯔마사 | 모리이께다쯔야 | 가노미쯔루
简单同族:
CN100409072C | CN1189777C | CN1381755A | CN1591118A | EP1251390A2 | EP1251390A3 | KR1020020082110A | TW548467B | US20030011730A1 | US20030210368A1 | US6606139 | US6912028
简单同族成员数量:
12
简单同族被引用专利总数:
62
诉讼案件数:
0
法律状态/事件:
驳回