首页
专利数据库
产业人才
行业动态
产业政策法规
维权援助
个人中心
登录/注册
详情
文本
图像
标题:
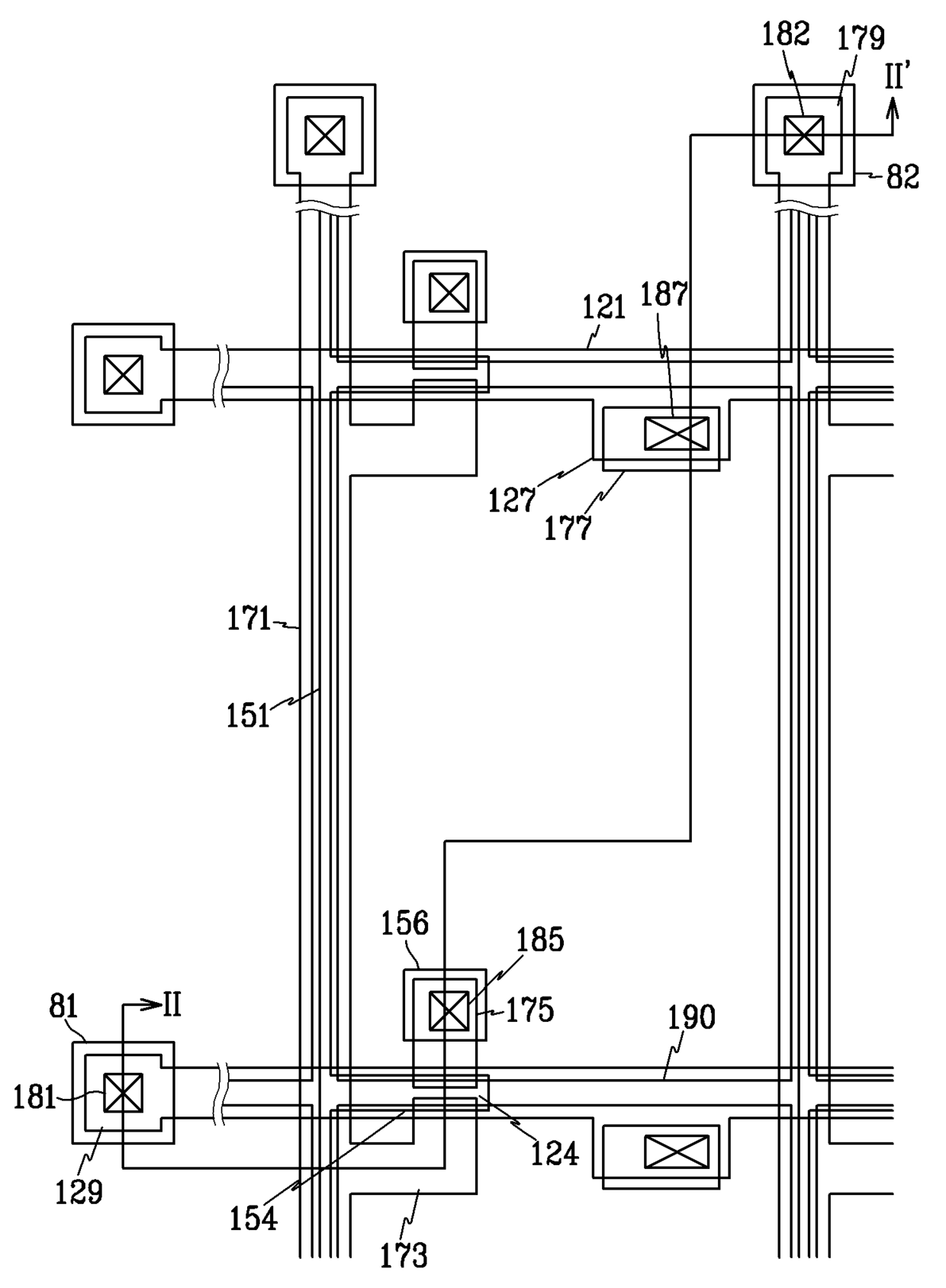
박막 트랜지스터 표시판
授权日:
1900-01-01
公开(公告)号:
KR1020060070837A
申请日:
2004-12-21
公开(公告)日:
2006-06-26
当前申请(专利权)人:
삼성전자주식회사
发明人:
SONG,SUNOK
简单同族:
KR1020060070837A
简单同族成员数量:
1
简单同族被引用专利总数:
0
诉讼案件数:
0
法律状态/事件:
撤回