首页
专利数据库
产业人才
行业动态
产业政策法规
维权援助
个人中心
登录/注册
详情
文本
图像
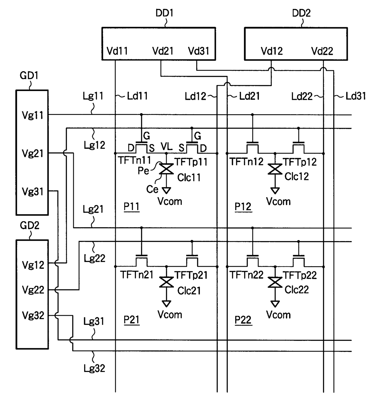
标题:
액정 표시 장치
授权日:
1900-01-01
公开(公告)号:
KR1020030066304A
申请日:
2002-11-28
公开(公告)日:
2003-08-09
当前申请(专利权)人:
샤프 가부시키가이샤
发明人:
SASAKI,NOBUO
简单同族:
CN101276075A | CN1437061A | EP1335343A2 | EP1335343A3 | EP1335343B1 | JP2003228342A | JP3906090B2 | KR100712024B1 | KR1020030066304A | TW200302936A | TWI251194B | US20030146890A1 | US7375712
简单同族成员数量:
13
简单同族被引用专利总数:
60
诉讼案件数:
0
法律状态/事件:
放弃