首页
专利数据库
产业人才
行业动态
产业政策法规
维权援助
个人中心
登录/注册
详情
文本
图像
标题:
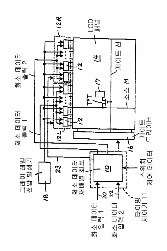
입력 화소 데이터 재배열 회로를 구비한 액정 표시 유닛
授权日:
1900-01-01
公开(公告)号:
KR1020020081094A
申请日:
2002-04-16
公开(公告)日:
2002-10-26
当前申请(专利权)人:
엔엘티 테크놀로지 가부시키가이샤
发明人:
이토마사히로 | 타카미카즈히코 | 오쿠조노노보루
简单同族:
JP2002311913A | JP4875248B2 | KR100470758B1 | KR1020020081094A | TW582001B | US20020149550A1 | US7030852
简单同族成员数量:
7
简单同族被引用专利总数:
50
诉讼案件数:
0
法律状态/事件:
未缴年费 | 权利转移