首页
专利数据库
产业人才
行业动态
产业政策法规
维权援助
个人中心
登录/注册
详情
文本
图像
标题:
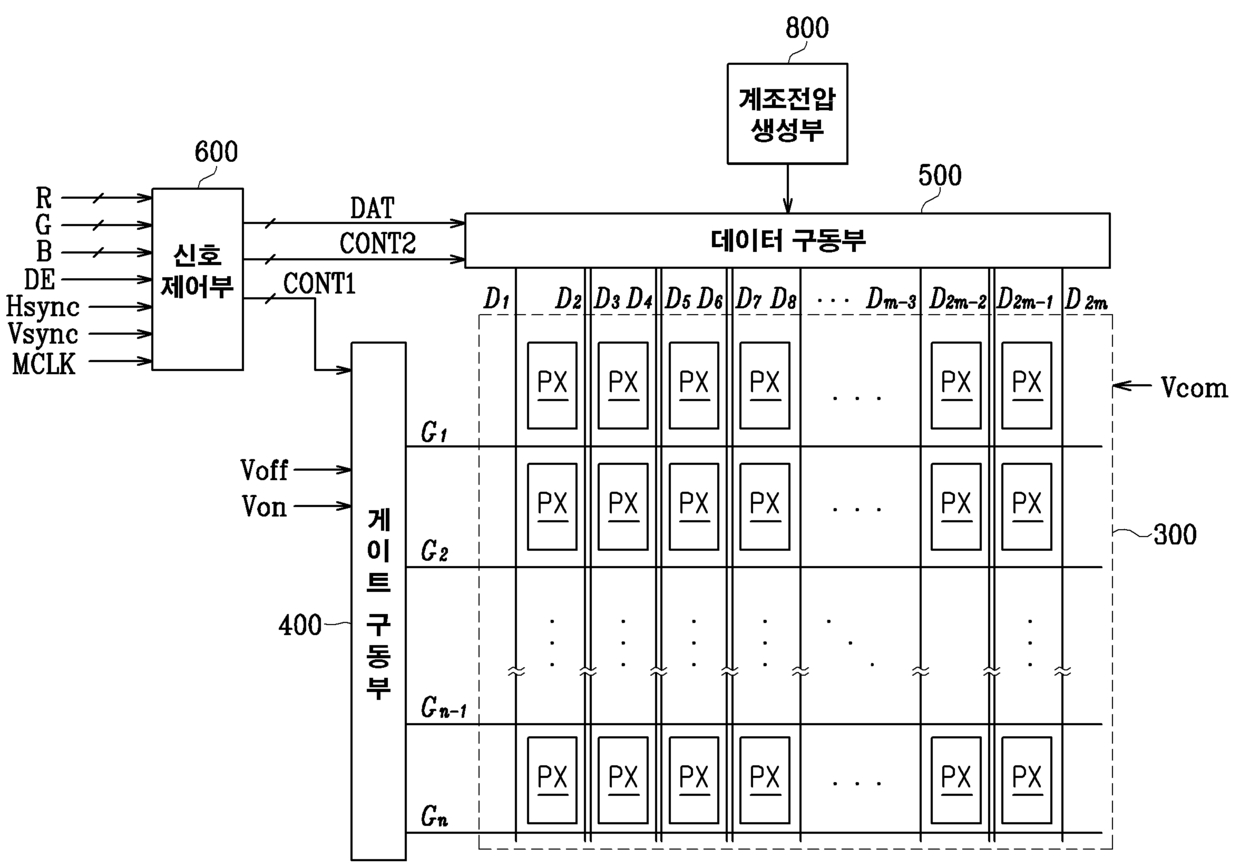
액정 표시 장치
授权日:
1900-01-01
公开(公告)号:
KR1020060112043A
申请日:
2005-04-26
公开(公告)日:
2006-10-31
当前申请(专利权)人:
삼성전자주식회사
发明人:
KIM, DONG GYU
简单同族:
CN1854831A | JP2006309239A | KR1020060112043A | TW200643583A | US20070008263A1
简单同族成员数量:
5
简单同族被引用专利总数:
80
诉讼案件数:
0
法律状态/事件:
撤回