首页
专利数据库
产业人才
行业动态
产业政策法规
维权援助
个人中心
登录/注册
详情
文本
图像
标题:
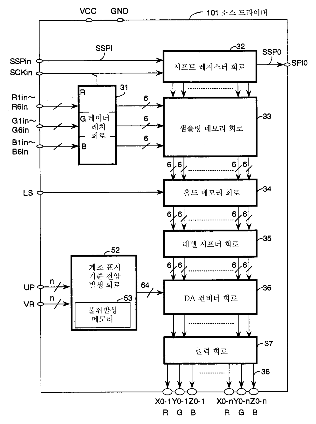
계조 표시용 기준 전압 발생 회로 및 그것을 이용한 액정표시 장치
授权日:
2005-10-05
公开(公告)号:
KR100520861B1
申请日:
2003-01-15
公开(公告)日:
2005-10-17
当前申请(专利权)人:
샤프 가부시키가이샤
发明人:
다나까시게끼 | 오가와요시노리
简单同族:
CN1253846C | CN1432993A | JP2003280615A | KR100520861B1 | KR1020030062279A | TW200302449A | TWI227456B | US20030132906A1
简单同族成员数量:
8
简单同族被引用专利总数:
104
诉讼案件数:
0
法律状态/事件:
放弃