首页
专利数据库
产业人才
行业动态
产业政策法规
维权援助
个人中心
登录/注册
详情
文本
图像
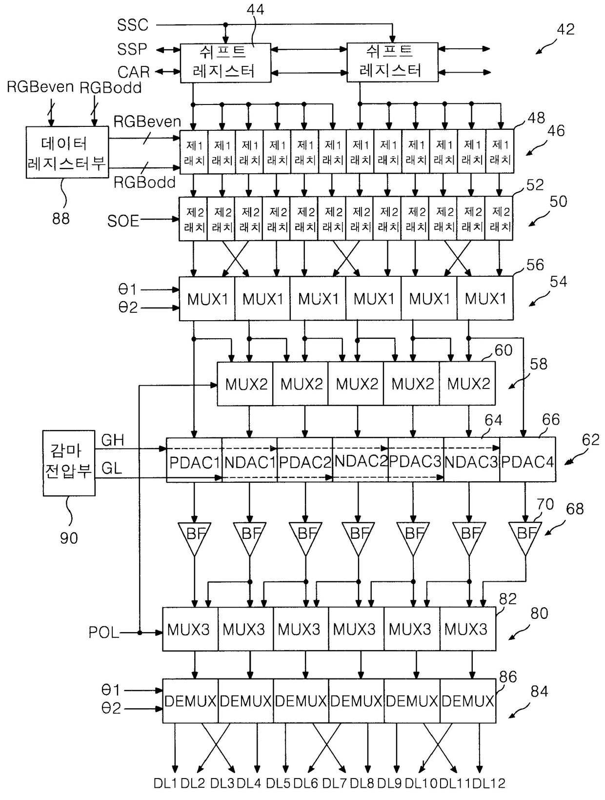
标题:
액정표시장치의 데이터 구동 장치 및 방법
授权日:
2009-06-23
公开(公告)号:
KR100905330B1
申请日:
2002-12-03
公开(公告)日:
2009-07-02
当前申请(专利权)人:
엘지디스플레이 주식회사
发明人:
안승국 | 강신호
简单同族:
KR100905330B1 | KR1020040049348A | US20040104873A1 | US7030844
简单同族成员数量:
4
简单同族被引用专利总数:
91
诉讼案件数:
0
法律状态/事件:
授权