首页
专利数据库
产业人才
行业动态
产业政策法规
维权援助
个人中心
登录/注册
详情
文本
图像
标题:
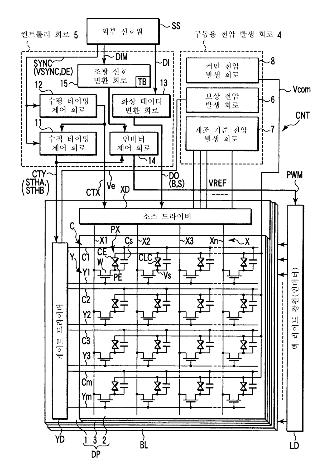
표시 제어 회로, 표시 제어 방법, 및 액정 표시 장치
授权日:
2007-12-06
公开(公告)号:
KR100785553B1
申请日:
2005-09-14
公开(公告)日:
2007-12-12
当前申请(专利权)人:
가부시키가이샤 저팬 디스플레이 센트럴
发明人:
KAWAGUCHI, SEIJI
简单同族:
JP2006084710A | KR100785553B1 | KR1020060051289A | TW200629208A | TWI307490B | US20060055661A1 | US7864155
简单同族成员数量:
7
简单同族被引用专利总数:
61
诉讼案件数:
0
法律状态/事件:
未缴年费