首页
专利数据库
产业人才
行业动态
产业政策法规
维权援助
个人中心
登录/注册
详情
文本
图像
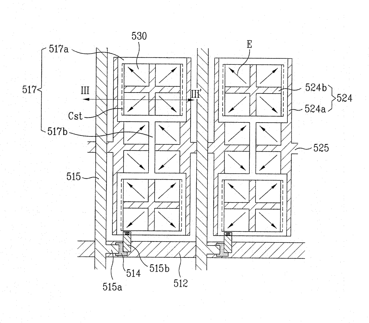
标题:
횡전계방식 액정표시소자 및 그 제조방법
授权日:
2006-08-22
公开(公告)号:
KR100617040B1
申请日:
2004-03-16
公开(公告)日:
2006-08-30
当前申请(专利权)人:
엘지디스플레이 주식회사
发明人:
손현호 | 이원호
简单同族:
KR100617040B1 | KR1020050092544A | US20050206824A1 | US20090148974A1 | US7502086 | US7773183
简单同族成员数量:
6
简单同族被引用专利总数:
123
诉讼案件数:
0
法律状态/事件:
授权