标题:
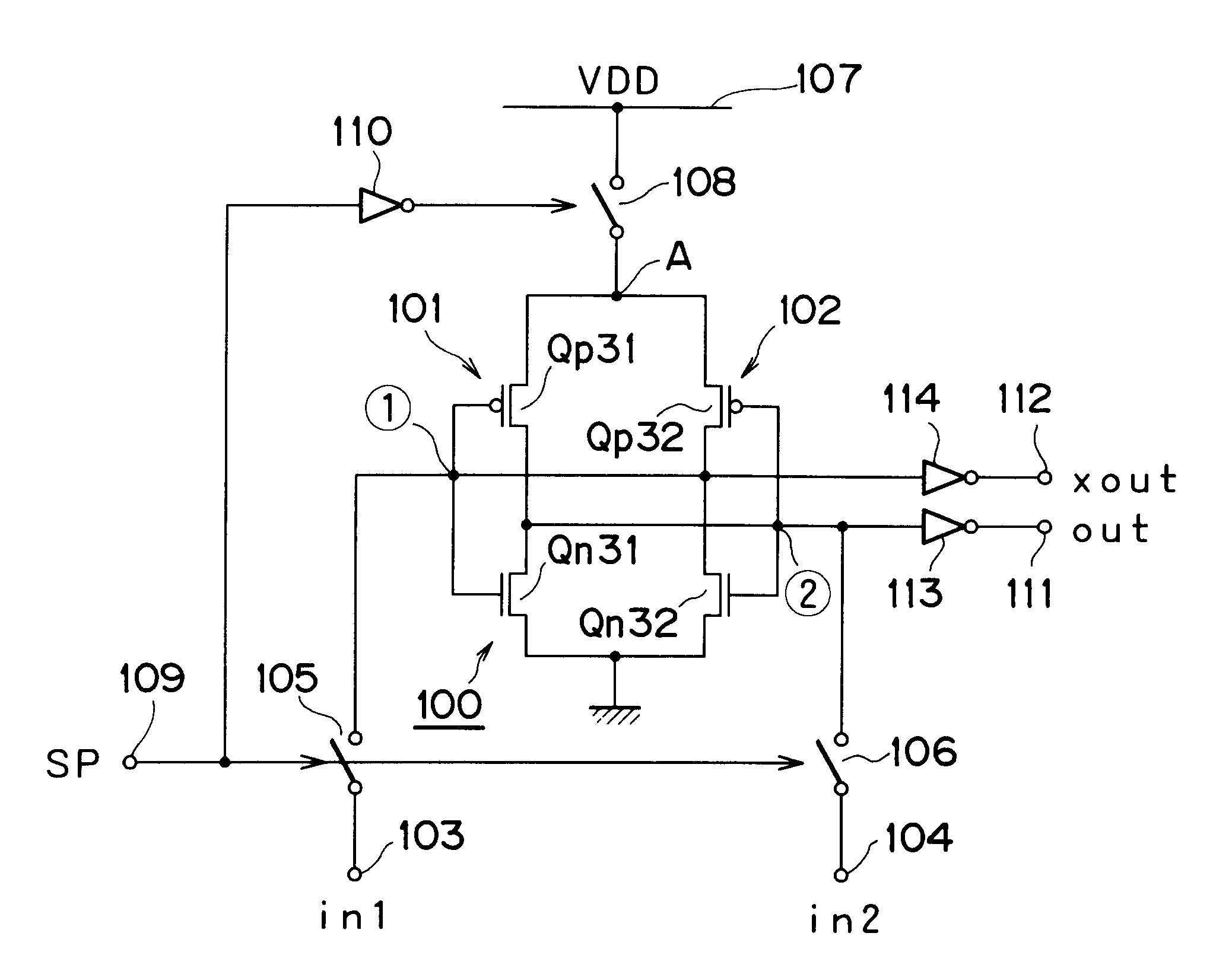
샘플링 래치 회로, 래치 회로, 및 이들을 탑재한 액정 표시장치
授权日:
1900-01-01
公开(公告)号:
KR1020070007758A
申请日:
2006-12-29
公开(公告)日:
2007-01-16
当前申请(专利权)人:
소니 주식회사
发明人:
나카지마요시하루 | 마에카와도시카즈
简单同族:
EP1014334A2 | EP1014334A3 | EP2026322A2 | EP2026322A3 | KR100726264B1 | KR100743214B1 | KR100746572B1 | KR100750975B1 | KR1020000052541A | KR1020060105701A | KR1020070007758A | KR1020070056020A | TW461180B | US20040150607A1 | US20080224972A1 | US6664943 | US7400320 | US8031188
简单同族成员数量:
18
简单同族被引用专利总数:
174
诉讼案件数:
0
法律状态/事件:
授权