首页
专利数据库
产业人才
行业动态
产业政策法规
维权援助
个人中心
登录/注册
详情
文本
图像
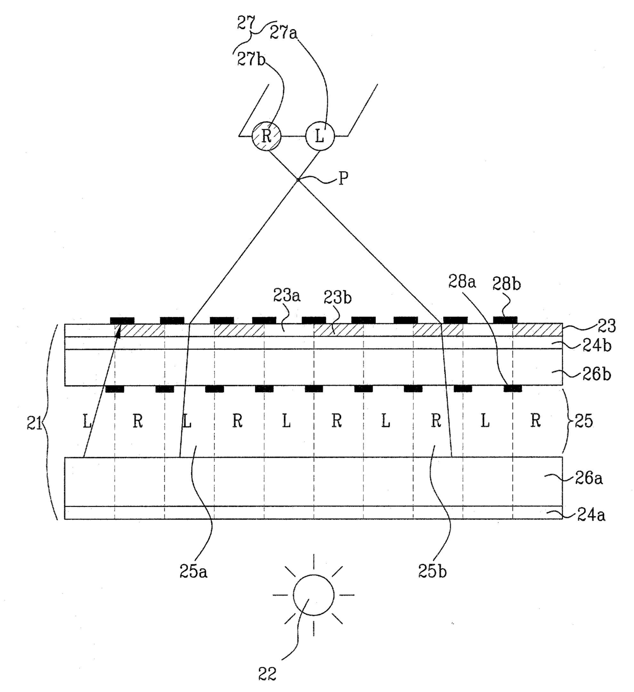
标题:
3차원 입체 액정표시장치
授权日:
1900-01-01
公开(公告)号:
KR1020050034850A
申请日:
2003-10-10
公开(公告)日:
2005-04-15
当前申请(专利权)人:
엘지디스플레이 주식회사
发明人:
HA,KYOUNGSU
简单同族:
KR100977221B1 | KR1020050034850A
简单同族成员数量:
2
简单同族被引用专利总数:
50
诉讼案件数:
0
法律状态/事件:
授权