首页
专利数据库
产业人才
行业动态
产业政策法规
维权援助
个人中心
登录/注册
详情
文本
图像
标题:
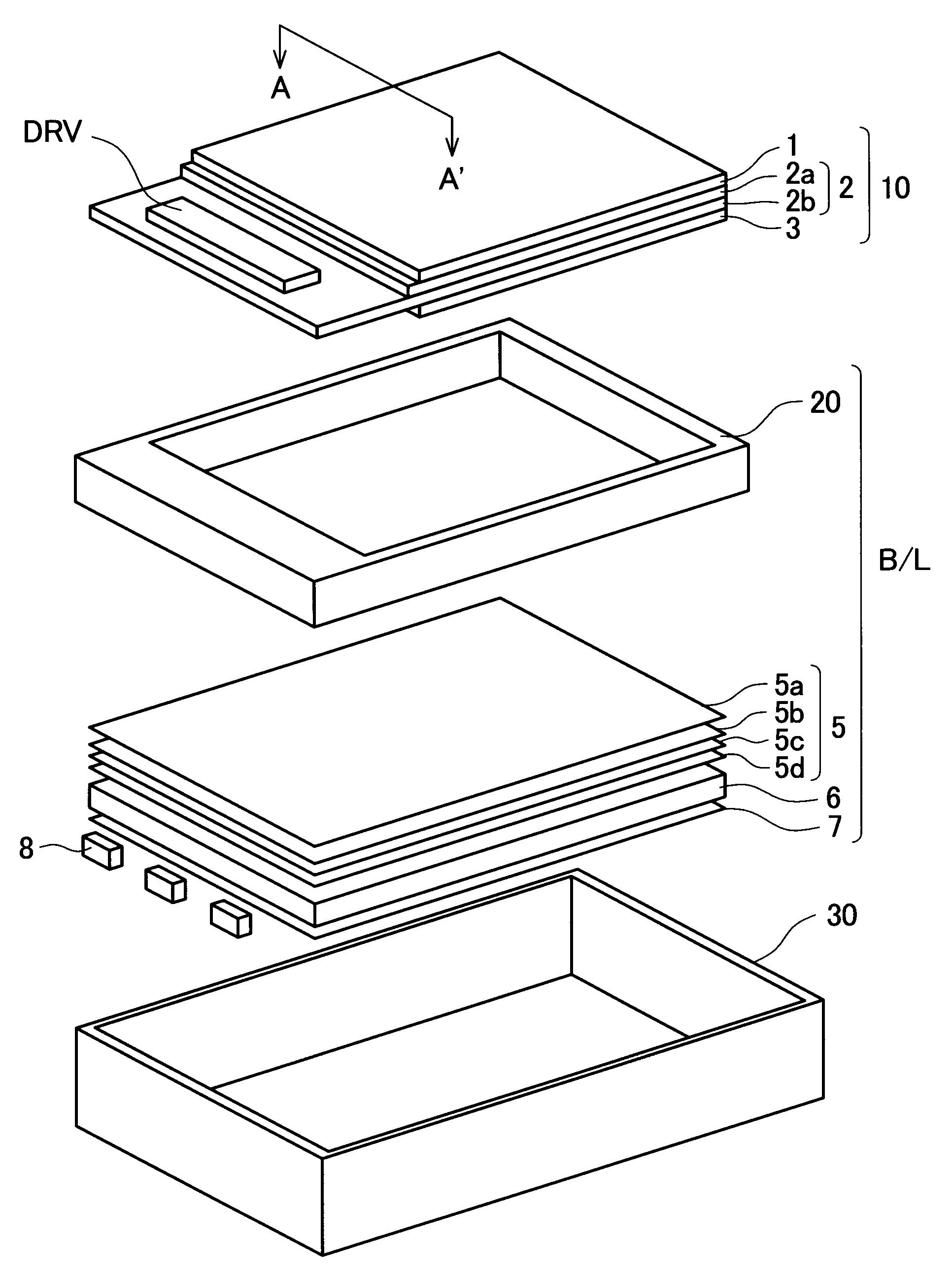
액정표시장치
授权日:
1900-01-01
公开(公告)号:
KR1020070061449A
申请日:
2006-12-08
公开(公告)日:
2007-06-13
当前申请(专利权)人:
가부시키가이샤 재팬 디스프레이
发明人:
OHIRA EIJI
简单同族:
CN100449370C | CN101435954A | CN101435954B | CN1979279A | JP2007163556A | JP2007163556A5 | KR100908664B1 | KR1020070061449A | TW200732757A | TWI378295B | US20070132909A1 | US20100020261A1
简单同族成员数量:
12
简单同族被引用专利总数:
80
诉讼案件数:
0
法律状态/事件:
未缴年费 | 权利转移