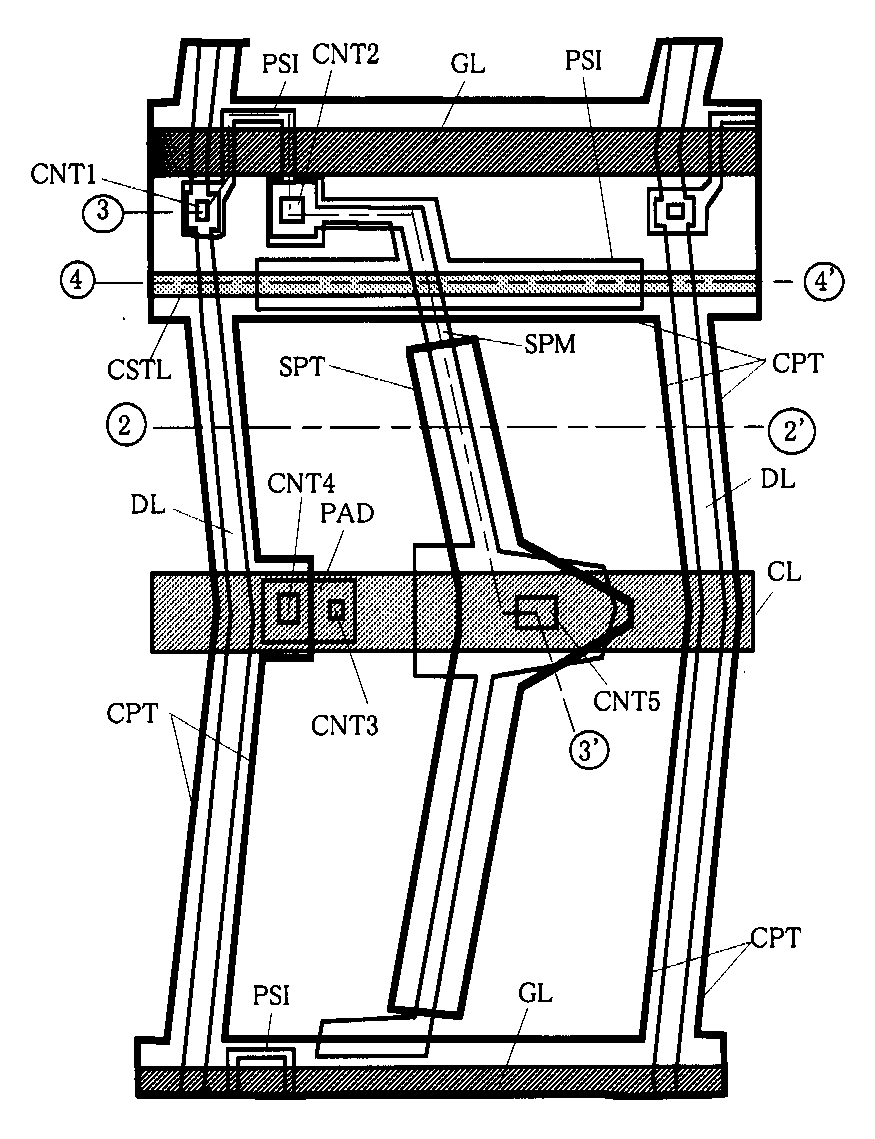
标题:
액정 표시 장치
授权日:
2005-12-21
公开(公告)号:
KR100539336B1
申请日:
2002-08-28
公开(公告)日:
2005-12-28
当前申请(专利权)人:
가부시키가이샤 히타치세이사쿠쇼
发明人:
오찌아이다까히로 | 오께류따로 | 이마야마히로따까 | 오노기꾸오
简单同族:
CN1178098C | CN1420383A | JP2003149675A | JP2003149675A5 | JP4019697B2 | KR100539336B1 | KR1020030040025A | TW550417B | US20030090599A1 | US20050280748A1 | US6897909 | US7088402
简单同族成员数量:
12
简单同族被引用专利总数:
136
诉讼案件数:
0
法律状态/事件:
未缴年费 | 权利转移